LEMON Manuals: Even more car manuals for everyone
Home >> Hyundai >> 2002 >> XG350 Base >> Repair and Diagnosis >> Accessories & Equipment >> Memory Modules >> Driver's Position Memory System >> Component Tests >> Anti-Theft Function >> Disarm Function

Disarm Function

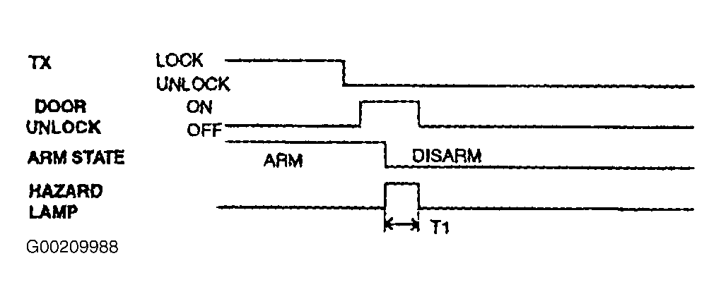
Time specification T1: 1 sec. See Fig 1 .

Fig 1: Checking Disarm Function
G00209988Courtesy of HYUNDAI MOTOR CO.