LEMON Manuals: Even more car manuals for everyone
Home >> Hummer >> 2010 >> H3 Base, Automatic >> Repair and Diagnosis >> Steering >> Steering Column >> Steering Wheel And Column >> Repair Instructions >> Steering Wheel Position Sensor Centering >> Installation Procedure

Installation Procedure

    Fig 1: Front & Back Of Steering Wheel Position Sensor
    GM1203810Courtesy of GENERAL MOTORS CORP.
    NOTE: If you are reusing the existing sensor, centering of the old sensor is not necessary.
    If you are installing a new sensor, the new sensor will come with a pin. Do not remove the pin until the sensor is seated.
  1. From the technicians point of view of the FRONT of the sensor (1), the connector will be on your right.

    From the technicians point of view of the BACK of the sensor (2), the connector will be on your left.

  2. Looking at the FRONT of the sensor, align the sensor with the steering shaft and install the sensor to the adapter and bearing assembly.
  3. Install the connector to the sensor.
  4. Fig 2: Steering Wheel Position Sensor Identification Points
    GM1203811Courtesy of GENERAL MOTORS CORP.
  5. From the technicians point of view, the FRONT of the sensor will have:
    • A foam ring (4)
    • A pin hole (7) for the centering pin-Note the location of the pin hole.
    • A flush rotor flange cuff (6)
    • An alignment mark (5) for installation
  6. From the technicians point of view, the BACK of the sensor will have:
    • Double D flats (1)
    • A foam ring (3)
    • An alignment tab (2) for installing the sensor to the adapter and bearing assembly
    • A view of the inside of the connector
  7. NOTE: If you are reusing the existing sensor, align the marks on the flush rotor flange cuff before installation. The alignment mark must stay aligned until the sensor is seated into the adapter and bearing assembly.
    If you are installing a new sensor, the new sensor will come with a pin. Do not remove the pin until the sensor is seated. If the pin is not installed in the sensor, order a new sensor.
  8. Looking at the FRONT of the sensor, align the sensor with the steering shaft and install the sensor to the adapter and bearing assembly.
  9. Install the connector to the sensor.
  10. Fig 3: Steering Wheel Position Sensor Front View
    GM1203813Courtesy of GENERAL MOTORS CORP.
  11. From the technicians point of view, the FRONT of the sensor will have:
    • A pin hole (3) for the centering pin-Note location of the pin hole.
    • A raised rotor flange cuff (5)
    • An alignment mark (4) for installation
  12. From the technicians point of view, the BACK of the sensor will have:
    • Double D flats (1)
    • An alignment tab (2) for installing the sensor to the adapter and bearing assembly
  13. NOTE: If you are reusing the existing sensor, align the marks on the raised rotor flange cuff before installation. The alignment mark must stay aligned until the sensor is seated into the adapter and bearing assembly.
    If you are installing a new sensor, the new sensor will come with a pin. Do not remove the pin until the sensor is seated. If the pin is not installed in the sensor, order a new sensor.
  14. Looking at the FRONT of the sensor, align the sensor with the steering shaft and install the sensor to the adapter and bearing assembly.
  15. Install the connector to the sensor.
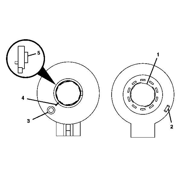
  16. Fig 4: Steering Wheel Position Sensor Centering Pin Hole, Rotor Flange Cuff & Alignment Mark
    GM1203814Courtesy of GENERAL MOTORS CORP.
  17. From the technicians point of view, the FRONT of the sensor will have:
    • A pin hole (2) for the centering pin-Note the location of the pin hole.
    • A raised rotor flange cuff (4)
    • An alignment mark (3) for installation
  18. From the technicians point of view, the BACK of the sensor will have an alignment tab (1) for installation. This sensor does not have double D flats.
  19. NOTE: If you are reusing the existing sensor, align the marks on the raised rotor flange cuff before installation. The alignment mark must stay aligned until the sensor is seated into the adapter and bearing assembly.
    If you are installing a new sensor, the new sensor will come with a pin. Do not remove the pin until the sensor is seated. If the pin is not installed in the sensor, order a new sensor.
  20. Looking at the FRONT of the sensor, align the sensor with the steering shaft and install the sensor to the adapter and bearing assembly.
  21. Install the connector to the sensor.
  22. Fig 5: Steering Wheel Position Sensor Center Pin, Rotor Flange Cuff & Installation Alignment Mark
    GM1203818Courtesy of GENERAL MOTORS CORP.
  23. From the technicians point of view, the FRONT of the sensor will have:
    • A pin hole (2) for the centering pin-Note the location of the pin hole.
    • A flush rotor flange cuff (4)
    • An alignment mark (3) for installation
  24. From the technicians point of view, the BACK of the sensor will have an alignment tab (1) for installation. This sensor does not have double D flats.
  25. NOTE: If you are reusing the existing sensor, align the marks on the flush rotor flange cuff before installation. The alignment mark must stay aligned until the sensor is seated into the adapter and bearing assembly.
    If you are installing a new sensor, the new sensor will come with a pin. Do not remove the pin until the sensor is seated. If the pin is not installed in the sensor, order a new sensor.
  26. Looking at the FRONT of the sensor, align the sensor with the steering shaft and install the sensor to the adapter and bearing assembly.
  27. Install the connector to the sensor.
  28. Fig 6: Steering Wheel Position Sensor Components
    GM1203820Courtesy of GENERAL MOTORS CORP.
  29. From the technicians point of view, the FRONT of the sensor will have:
    • A pin hole (3) for the centering pin-Note location of the pin hole.
    • A flush rotor flange cuff (5)
    • An alignment mark (4) for installation
    • A foam ring (6)
  30. From the technicians point of view, the BACK of the sensor will have:
    • Double D flats (1)
    • An alignment tab (2) for installing the sensor to the adapter and bearing assembly
  31. NOTE: If you are reusing the existing sensor, align the marks on the flush rotor flange cuff before installation. The alignment mark must stay aligned until the sensor is seated into the adapter and bearing assembly.
    If you are installing a new sensor, the new sensor will come with a pin. Do not remove the pin until the sensor is seated. If the pin is not installed in the sensor, order a new sensor.
  32. Looking at the FRONT of the sensor, align the sensor with the steering shaft and install the sensor to the adapter and bearing assembly.
  33. Install the connector to the sensor.