LEMON Manuals: Even more car manuals for everyone
Home >> Hummer >> 2008 >> H3 Base, Automatic >> Repair and Diagnosis >> External Pages >> Different car >> Section 588 (Wiring Systems And Power Management - Electrical Center Identification View & Component Connector End View Index) >> Electrical Center Identification View >> Fuse Block - Right Rear Label

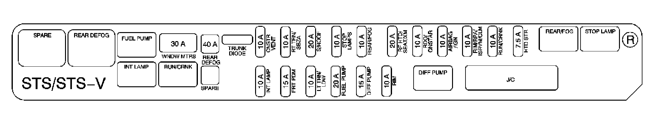
Fuse Block - Right Rear Label

WARNING: This page is about a different car, the 2008 Cadillac STS. However, it is still accessible from the selected car via links, so may be relevant.
Fig 1: Fuse Block - Right Rear Label
GM1967954Courtesy of GENERAL MOTORS CORP.
Fuse Block - Right Rear Label Usage

Device Rating Description
AIRBAG/IGN Fuse 10A Inflatable Restraint I/P Module Indicator, Inflatable Restraint Passenger Presence System (PPS) Module, Inflatable Restraint Sensing and Diagnostic Module (SDM)
CNSTR VENT Fuse 10A Evaporative Emissions (EVAP) Canister Vent Solenoid
DIFF PUMP Fuse 15A DIFF PUMP Relay
FRT PDM Fuse 15A Front Passenger Door Module (FPDM), Speaker - Right Front Door Subwoofer
FUEL PUMP Fuse 20A FUEL PUMP Relay
HTD STR Fuse 7.5A Heated Steering Wheel Control Module, Steering Column Lock Control Module
INT LAMP Fuse 10A INT LAMP Relay
LT TRN/LDW Fuse 10A Lane Departure Warning Module, Rear Integration Module (RIM)
RDO/ONSTAR Fuse 10A Radio, Vehicle Communication Interface Module (VCIM)
REAR DEFOG Fuse 40A REAR DEFOG Relay
REAR/FOG Fuse 10A REAR/FOG Relay
RF HTD/SEAT/XM Fuse 20A Climate Control Seat Module, Cooled Seat Blower Motor - Passenger Back, Cooled Seat Blower Motor - Passenger Cushion, Digital Radio Receiver
RIM Fuse 10A Rear Integration Module (RIM)
RIM/RPA/ISRVM/CLM Fuse 10A Inside Rearview Mirror, Rear Integration Module (RIM), Rear Object Sensor Control Module, Steering Column Lock Control Module, Theft Deterrent Alarm Siren
RT TRN/SBZA Fuse 10A Rear Integration Module (RIM), Side Obstacle Detector - Left, Side Obstacle Detector - Right
RUN/CRNK Fuse 10A REAR/FOG Relay, RUN/CRNK Relay (Fuse Block - Underhood)
S/ROOF Fuse 20A Sunroof Control Module
STOP LAMPS Fuse 10A STOP LAMP Relay
WNDW MTRS Circuit Breaker 30A Window Motor - Driver, Window Motor - Front Passenger, Window Motor - Left Rear, Window Motor - Right Rear
DIFF PUMP Relay - Rear Differential Cooler Pump
FUEL PUMP Relay - Fuel Pump and Sender Assembly
INT LAMP Relay - Courtesy Lamp - Left Footwell, Courtesy Lamp - Left Rear Door, Courtesy Lamp - Rear Compartment, Courtesy Lamp - Right Footwell, Courtesy Lamp - Right Rear Door, I/P Compartment Lamp, Overhead Courtesy/Reading Lamps - Front, Overhead Courtesy/Reading Lamps - Rear, Rear Integration Module (RIM), Vanity Mirror Lamp - Left, Vanity Mirror Lamp - Right
REAR DEFOG Relay - Rear Window Defogger
REAR/FOG Relay - Fog Lamp - Left Rear, Fog Lamp - Right Rear
RUN/CRNK Relay - AIRBAG/IGN Fuse, HTD STR Fuse, RIM/RPA/ISRVM/CLM Fuse, RUN/CRNK Fuse
STOP LAMP Relay - Tail Lamp Assembly - Left, Tail Lamp Assembly - Right
TRUNK DIODE - Courtesy Lamp - Rear Compartment