LEMON Manuals: Even more car manuals for everyone
Home >> Hummer >> 2008 >> H3 Base, Automatic >> Repair and Diagnosis >> External Pages >> Different car >> Section 37 (Anti-Lock Brake System, Traction Control System & Stability Control System) >> Repair Instructions >> Electronic Brake Control Module Replacement >> Removal Procedure

Removal Procedure

WARNING: This page is about a different car, the 2008 Isuzu i-370, 2008 Isuzu i-290, 2008 GMC Canyon, and 2008 Chevrolet Colorado. However, it is still accessible from the selected car via links, so may be relevant.
CAUTION: Refer to Brake Fluid Irritant Caution .
NOTE: When adding fluid to the brake master cylinder reservoir, use only Delco Supreme 11®, GM P/N 12377967 (Canadian P/N 992667), or equivalent DOT-3 brake fluid from a clean, sealed brake fluid container. The use of any type of fluid other than the recommended type of brake fluid, may cause contamination which could result in damage to the internal rubber seals and/or rubber linings of hydraulic brake system components.
    Fig 1: View Of Paper Towels Between EBCM & Inner Fender
    GM1398485Courtesy of GENERAL MOTORS CORP.
  1. Install clean paper and/or shop towels between the electronic brake control module (EBCM) assembly and the inner fender.
  2. Fig 2: View Of EBCM Electrical Connector
    GM1398496Courtesy of GENERAL MOTORS CORP.
  3. Remove the electrical connector from the EBCM.
  4. Fig 3: View Of EBCM Electrical Connector
    GM1398492Courtesy of GENERAL MOTORS CORP.
  5. Relocate the electrical connector behind the brake booster.
  6. Fig 4: View Of Master Cylinder To EBCM Brake Pipe
    GM1398461Courtesy of GENERAL MOTORS CORP.
    IMPORTANT: Before removing the brake pipes from the EBCM module, clean the module and master cylinder with denatured alcohol.
  7. Remove the brakes pipes from the master cylinder to the EBCM assembly.
  8. Fig 5: View Of Rear Brake Pipe & Retainers
    GM1398487Courtesy of GENERAL MOTORS CORP.
  9. Remove the rear brake pipe from the retainers at the cowl.
  10. Fig 6: View Of Brake Pipes At EBCM Assembly
    GM1398479Courtesy of GENERAL MOTORS CORP.
  11. Remove the brake pipes from the EBCM assembly.
  12. IMPORTANT: Install rubber plugs into the brake pipes to limit the loss of brake fluid and prevent contamination.
  13. Install rubber plugs into the brake pressure modulator valve (BPMV).
  14. IMPORTANT: Install rubber plugs into the brake pipes to limit the loss of brake fluid and prevent contamination.
  15. Install rubber plugs into the master cylinder.
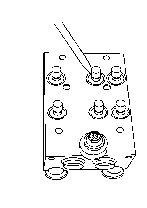
  16. Fig 7: View Of EBCM Mounting Nuts
    GM1398471Courtesy of GENERAL MOTORS CORP.
  17. Remove the mounting nuts from the EBCM.
  18. Fig 8: View Of EBCM
    GM1398490Courtesy of GENERAL MOTORS CORP.
  19. Remove the EBCM from the vehicle.
  20. Fig 9: View Of EBCM Mounting Screw
    GM1384682Courtesy of GENERAL MOTORS CORP.
    IMPORTANT: When working with ABS module, work in a clean area and DO NOT wear gloves or use shop towels to clean the ABS unit.
  21. Position the EBCM module on its side.
  22. IMPORTANT: If the mounting screws for the EBCM to the BPMV cannot be removed or break in the process of removing, replace the ABS module assembly. DO NOT attempt to rethread or use heat to remove the damaged mounting screw.
  23. Remove the 4 mounting screws from the ABS module. Discard the screws; use NEW only.
  24. Fig 10: View Of Collars Between EBCM & BPMV
    GM1384680Courtesy of GENERAL MOTORS CORP.
  25. Remove the 4 collars between the EBCM and the BPMV. Discard the collars; use NEW only.
  26. Fig 11: View Of EBCM And BPMV
    GM1384683Courtesy of GENERAL MOTORS CORP.
  27. Rotate the ABS module so that the BPMV is facing up.
  28. IMPORTANT: When handling the EBCM or the BPMV, use care so as not to cause any misalignment of either of the 2 electrical connectors for the EBCM or the solenoids on the BPMV.
    IMPORTANT: When separating the EBCM from the BPMV, DO NOT use a pry bar. If the EBCM and the BPMV cannot be separated, without the use of force, replace the ABS module as an assembly.
  29. Separate the EBCM from the BPMV.
  30. Fig 12: View Of EBCM Solenoid Plate
    GM1384686Courtesy of GENERAL MOTORS CORP.
    IMPORTANT: DO NOT reuse the solenoid plate or the O-rings once the EBCM and the BPMV have been separated. Discard and use NEW only.
  31. Remove the solenoid plate from the EBCM. Discard the solenoid plate; use new only.
  32. Fig 13: Cleaning BPMV Assembly
    GM1384687Courtesy of GENERAL MOTORS CORP.
    IMPORTANT: DO NOT use shop towels, crocus cloth, denatured alcohol, or brake cleaner to clean the BPMV.
  33. Using a paper towel, remove foreign material from the BPMV assembly.
  34. Using a clean paper towel, apply a small amount of DOT-3 brake fluid and clean the surface area of the BPMV.
  35. Fig 14: Inspecting Solenoids For Contamination Or Corrosion
    GM1384689Courtesy of GENERAL MOTORS CORP.
    IMPORTANT: If contamination and corrosion still exist at the solenoids after cleaning, replace the BPMV assembly.
  36. Inspect the solenoids for any contamination or corrosion.
  37. Fig 15: Inspecting BPMV Surface For Contamination Or Corrosion
    GM1384688Courtesy of GENERAL MOTORS CORP.
    IMPORTANT: If contamination and corrosion still exist on the surface of the BPMV after cleaning, replace the BPMV assembly.
  38. Inspect the surface of the BPMV for any contamination or corrosion.
  39. Fig 16: View Of EBCM O-Rings
    GM1384681Courtesy of GENERAL MOTORS CORP.
  40. Remove the old O-rings from the EBCM.