LEMON Manuals: Even more car manuals for everyone
Home >> Hummer >> 2008 >> H3 Base, Automatic >> Repair and Diagnosis >> External Pages >> Different car >> Section 11 (Cellular System, Entertainment System, And Navigation System) >> Repair Instructions >> Radio Front Side Door Speaker Replacement >> Installation Procedure

Installation Procedure

WARNING: This page is about a different car, the 2008 Isuzu i-370, 2008 Isuzu i-290, 2008 GMC Canyon, and 2008 Chevrolet Colorado. However, it is still accessible from the selected car via links, so may be relevant.
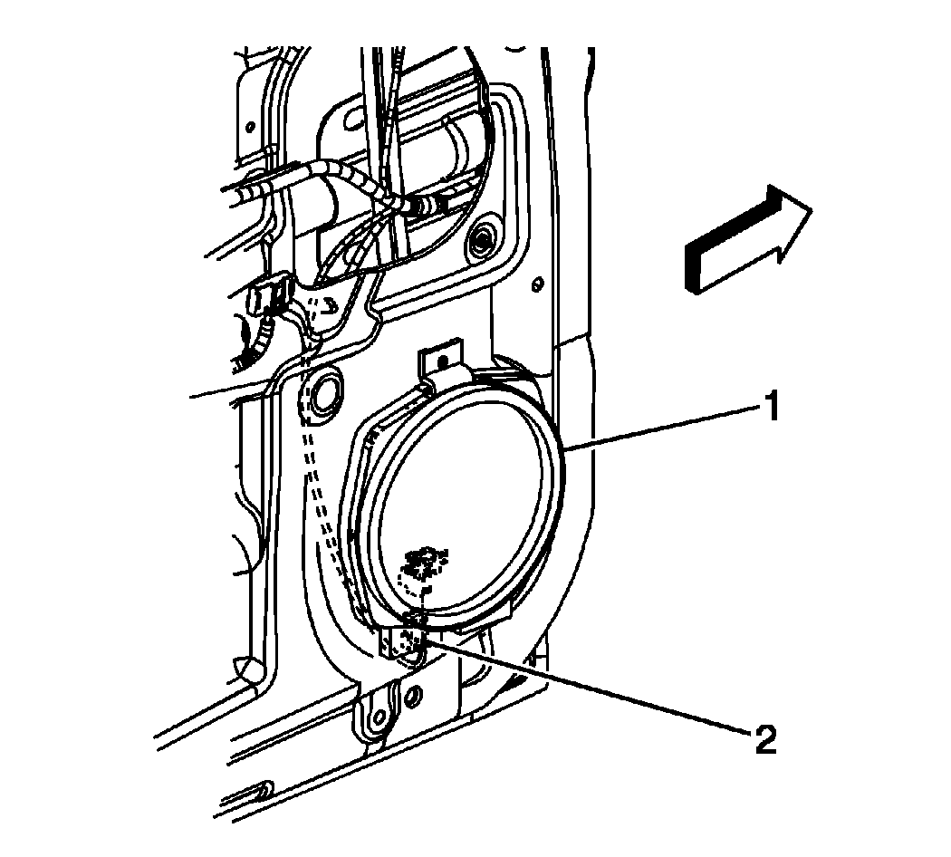
    Fig 1: View Of Speaker Electrical Connector - Front
    GM1276813Courtesy of GENERAL MOTORS CORP.
  1. Connect the speaker electrical connection.
  2. Fig 2: View Of Speaker - Front
    GM1276814Courtesy of GENERAL MOTORS CORP.
  3. Install the two tabs on the speaker into the slots in the door.
  4. NOTE: Refer to Fastener Notice .
  5. Install the screw securing the speaker to the door.

    Tighten:  Tighten the front door speaker screw to 2.5 N.m (22 lb in).

  6. Install the front door trim panel. Refer to Front Side Door Trim Panel Replacement .