LEMON Manuals: Even more car manuals for everyone
Home >> Hummer >> 2007 >> H3 Standard >> Repair and Diagnosis >> External Pages >> Different car >> Section 6 (Computer/Integrating Systems) >> Component Locator >> Computer/Integrating Systems Connectors

Computer/Integrating Systems Connectors

WARNING: This page is about a different car, the 2005 GMC Canyon and 2005 Chevrolet Colorado. However, it is still accessible from the selected car via links, so may be relevant.
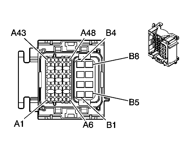
Body Control Module (BCM) C1 Connector End View

GM1334541Courtesy of GENERAL MOTORS CORP.
Connector Part Information
  • 15359050
  • 56-Way F Mixed (BK)
Pin Wire Color Circuit Number Function
A1 - - Not Used
A2 YE 317 Fog Lamp Relay Control
A3 L-BU 14 Left Turn Signal Lamps Supply Voltage
A4 GY/BK 690 Courtesy Lamp Supply Voltage (TR9)
A5 PK/WH 1970 Headlamp Relay Control
A6 BK 755 RAP Relay Coil Control
A7 OG 740 Battery Positive Voltage
A8 D-GN 113 Windshield Wiper Switch Signal 2
A9-A10 - - Not Used
A11 L-BU 244 Passenger Door Lock Switch Lock Control (AUO)
A12 WH 194 Door Unlock Control (AUO)
A13-A17 - - Not Used
A18 BK/WH 1969 Beam Select Relay Control
A19 D-BU 15 Right Turn Signal Lamps Supply Voltage
A20 YE 196 Windshield Wiper Motor Park Switch Signal
A21-A23 - - Not Used
A24 BN/WH 301 Park Lamp Relay Control
A25 BK/WH 238 Seat Belt Switch - Left
A26 OG 300 Ignition 3 Voltage
A27-A28 - - Not Used
A29 OG 1732 Courtesy Lamps Supply Voltage
A30 OG 1732 Courtesy Lamps Supply Voltage
A31 L-BU 1134 Park Brake Switch Signal
A32 GY/BK 745 Left Front Door Ajar Switch Signal
A33-A37 - - Not Used
A38 L-GN/BK 748 Right Rear Door Ajar Switch Signal
A39 BK/WH 746 Right Rear Door Ajar Switch Signal (CREW CAB)
A40 BK 28 Horn Relay Control
A41 PU 1807 Class 2 Serial Data (UE1)
A42 PU 1807 Class 2 Serial Data
A43 D-GN/WH 762 A/C Request Signal
A44 L-BU/BK 747 Left Rear Door Ajar Switch Signal (CREW CAB)
A45 PK 849 Brake Fluid Level Sensor Signal
A46 WH 156 Courtesy Lamp Low Control
A47 PU 1807 Class 2 Serial Data
A48 BN 9 Park Lamp Supply Voltage
B1 YE 18 Left Rear Turn Signal Lamps Supply Voltage
B2 D-GN 19 Right Rear Turn Signal Lamps Supply Voltage
B3 BK/WH 1251 Ground
B4 RD 228 Windshield Washer Pump Control
B5 OG 840 Battery Positive Voltage
B6 D-BU 338 Run/Crank Voltage
B7 BN 4 Accessory Voltage
B8 OG 1340 Battery Positive Voltage
Body Control Module (BCM) C2 Connector End View

GM1335561Courtesy of GENERAL MOTORS CORP.
Connector Part Information
  • 15359049
  • 56-Way F Micro 64 GT 280 (GY)
Pin Wire Color Circuit Number Function
A1 PU 524 Headlamp Dimmer Switch High Beam Signal
A2 WH 103 Headlamp Switch Headlamps On Signal
A3 GY 112 Windshield Wiper Switch Signal 1
A4 BN/WH 230 Instrument Panel Lamps Dimming Control
A5 YE 183 Front Fog Lamp Indicator Control
A6 - - Not Used
A7 BN/WH 301 Park Lamp Relay Control
A8 BN 1356 Flash To Pass Switch Signal
A9 PU/WH 549 Headlamp Switch Headlamps Off Signal
A10 PU 719 Low Reference
A11 D-BU/WH 1495 Dome Override Switch Signal
A12 PU 328 Interior Lamp Switch Signal
A13 WH/BK 158 Cargo lamp Switch Signal (TR9)
A14 WH 1390 Off/Run/Crank Voltage
A15-A16 - - Not Used
A17 BN/WH 1571 Traction Control Switch Signal (2WD w/NW9)
A18 OG 192 Fog Lamps Enable (T96)
A19 GY 728 Security Indicator Control
A20-A24 - - Not Used
A25 BK 28 Horn Relay Control
A26 PU/WH 1572 TCS Requested Indicator Control (2WD w/NW9)
A27 - - Not Used
A28 GY 8 Instrument Panel Lamps Dimmer Switch Signal
A29 GY 8 Instrument Panel Lamps Dimmer Switch Signal
A30 - - Not Used
A31 BN 323 Shift Solenoid Supply Voltage
A32-A34 - - Not Used
A35 GY 8 Instrument Panel Lamp Dimmer Switch Signal
A36 GY 8 Instrument Panel Lamp Dimmer Switch Signal
A37 WH 278 Ambient Light Sensor Signal
A38 PU 1807 Class 2 Serial Data
A39 PU 1807 Class 2 Serial Data
A40 OG 1732 Courtesy Lamps Supply Voltage (TR9)
A41 WH 156 Courtesy Lamp Low Control (TR9)
A42 WH/BK 1073 Ignition Key Resistor Signal
A43 BK 279 Ambient Light Sensor Low Reference
A44 PU 1807 Class 2 Serial Data
A45 L-BU 1508 Turn Signal Switch Signal
A46 OG 1732 Courtesy Lamps Supply Voltage (TR9)
A47 WH 156 Courtesy Lamp Low Control (TR9)
A48 WH 111 Hazard Switch Signal
B1-B2 - - Not Used
B3 D-GN 19 Right Rear Turn Signal Lamps Supply Voltage
B4 YE 18 Left Rear Turn Signal Lamps Supply Voltage
B5 RD 228 Windshield Washer Pump Control
B6 - - Not Used
B7 BN 4 Accessory Voltage
B8 D-BU 338 Run/Crank Voltage
Data Link Connector (DLC) Connector End View

GM808656Courtesy of GENERAL MOTORS CORP.
Connector Part Information
  • 15317575
  • 16-Way F Metri-Pack/150 Series (BK)
Pin Wire Color Circuit Number Function
1 - - Not Used
2 PU 1807 Class 2 Serial Data
3 - - Not Used
4 BK 2050 Ground
5 BK/WH 1151 Ground
6-15 - - Not Used
16 OG 40 Battery Positive Voltage