LEMON Manuals: Even more car manuals for everyone
Home >> Hummer >> 2007 >> H3 Standard >> Repair and Diagnosis (Single Page) >> Quick Lookups >> Wiring Diagrams >> OEM Connector End Views >> Antilock Brake System Connector End Views >> Electronic Brake Control Module (EBCM) Connector End View C2

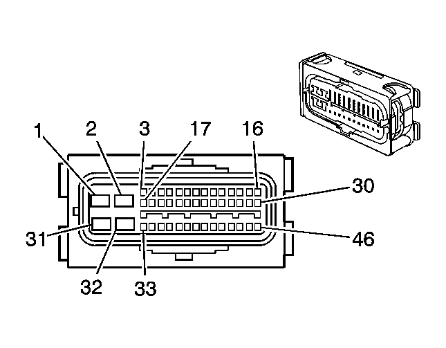
Electronic Brake Control Module (EBCM) Connector End View C2

Fig 1: Electronic Brake Control Module (EBCM) C2 Connector End View
GM1567078Courtesy of GENERAL MOTORS CORP.
Electronic Brake Control Module (EBCM) C2 Connector Parts Information

Connector Part Information 
  • OEM: 6189-1136
  • Service: See Catalog
  • Description: 46-Way F 025/187 Sealed (BK)
Terminal Part Information 
  • Pins: 1, 2, 31, 32
  • Terminal/Tray: 8100-0468/6
  • Core/Insulation Crimp: F/5
  • Release Tool/Test Probe: 12094430/J-35616-40 (BU)
  • Pins: 3-27, 38-46
  • Terminal/Tray: 8100-3455/22
  • Core/Insulation Crimp: Pins 3-6, 9-10, 17-20, 42, 45: 8/8
  • Core/Insulation Crimp: Pins 8, 11, 22-27, 38-41, 43-44, 46: 7/7
  • Release Tool/Test Probe: 15315247/J-35616-64A (L-BU)
Electronic Brake Control Module (EBCM) C2 Connector Terminal Identification

Pin Wire Color Circuit No. Function
1 BK 850 Ground
2 OG 540 Battery Positive Voltage
3 D-GN 872 Right Front Wheel Speed Sensor Signal
4 YE 873 Left Front Wheel Speed Sensor Low Reference
5 BN 882 Right Rear Wheel Speed Sensor Signal
6 RD 885 Left Rear Wheel Speed Sensor Low Reference
7 - - Not Used
8 WH 1765 Steering Wheel Position Marker Pulse Signal (JL4)
9 OG/BK 463 Requested Torque Signal
10 TN/BK 464 Delivered Torque Signal
11 D-BU 716 CAN HI (JL4)
12-16 - - Not Used
17 TN 833 Right Front Wheel Speed Sensor Low Reference
18 L-BU 830 Left Front Wheel Speed Sensor Signal
19 WH 883 Right Rear Wheel Speed Sensor Low Reference
20 BK 884 Left Rear Wheel Speed Sensor Signal
21 - - Not Used
22 L-BU 1764 Steering Wheel Position Signal B (JL4)
23 L-GN 1763 Steering Wheel Position Signal A (JL4)
24 - - Not Used
25 L-BU 2088 CAN LO (JL4)
26 - - Not Used
27 PK 849 Brake Fluid Level Sensor Signal
28-30 - - Not Used
31 OG 2340 Battery Positive Voltage
32 BK 850 Ground (LHD)
BK 2050 Ground (RHD)
33-37 - - Not Used
38 BK 1835 Low Reference (JL4)
L-BU 2088 Low Reference (w/o JL4)
39 L-BU 1059 Steering Wheel Position Sensor Signal (JL4)
40 GY 1056 Steering Wheel Position Sensor 5V (JL4)
D-GN 2087 5V (w/o JL4)
41 YE 5353 Longitudinal Accelerometer Sensor Signal (w/o JL4)
42 L-GN 24 Backup Lamp Supply Voltage
43 - - Not Used
44 PU 1807 Class 2 Serial Data
45 L-BU 20 Stop Lamp Supply Voltage
46 BN 441 Ignition 3 Voltage