LEMON Manuals: Even more car manuals for everyone
Home >> Hummer >> 2007 >> H3 Standard >> Repair and Diagnosis (Single Page) >> Electrical >> Body Electrical >> OEM Connector End Views >> Powertrain Control Module Connector End Views >> Powertrain Control Module (PCM) Connector End View C2

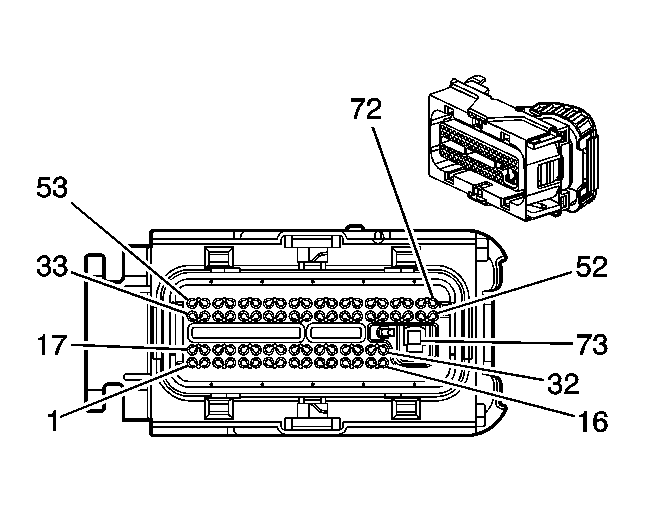
Powertrain Control Module (PCM) Connector End View C2

Fig 1: Powertrain Control Module (PCM) C2 Connector End Views
GM1567222Courtesy of GENERAL MOTORS CORP.
Powertrain Control Module (PCM) C2 Connector Parts Information

Connector Part Information 
  • OEM: 13513936
  • Service: See Catalog
  • Description: 44-Way F GT 280/Micro-Pack 64 Series, Sealed (BK)
Terminal Part Information 
  • Pins: 1-69
  • Terminal/Tray: 15359541/4
  • Core/Insulation Crimp: M/M
  • Release Tool/Test Probe: 15381651-2/J-35616-64A (L-BU)
  • Pins: 73
  • Terminal/Tray: 15304720/19
  • Core/Insulation Crimp: 4/5
  • Release Tool/Test Probe: 15381651-2/J-35616-4A (PU)
Powertrain Control Module (PCM) C2 Connector Terminal Identification

Pin Wire Color Circuit No. Function
1 PU 5428 Generator Regulator Control
2 D-GN 485 TP Sensor 1 Signal
3-4 - - Not Available
5 BN/WH 6789 5V (K18)
6 GY 2701 5V
7 PU 486 TP Sensor 2 Signal
8 GY 2704 5V
9 L-BU/BK 1688 5V
10-12 - - Not Available
13 PU 2329 Camshaft Position Signal
14 PK/BK 632 Low Reference
15 L-BU 2344 Low Reference
16 - - Not Available
17 YE 573 CKP Sensor 1 Signal
18 PU 574 Low Reference
19 BK 2199 Low Reference
20 OG/BK 469 Low Reference
21 - - Not Available
22 RD 631 12V
23 RD 1673 12V
24-25 - - Not Available
26 BK 630 Camshaft Position Signal
27 - - Not Available
28 PU 421 AIR Solenoid Relay Control (K18)
29 - - Not Available
30 D-BU/WH 6785 Low Reference
31 - - Not Available
32 TN/WH 1653 HO2S Low Signal Bank 1 Sensor 1
33 BK 1744 Fuel Injector 1 Control
34 - - Not Available
35 YE 410 ECT Sensor Signal
36 BK/WH 1704 Low Reference
37 L-GN 432 MAP Sensor Signal
38 - - Not Available
39 BK 2752 Low Reference
40 PU 2121 IC 1 Control
41 YE 492 MAF Sensor Signal
42 D-GN 2125 IC 5 Control
43 - - Not Available
44 RD/WH 2122 IC 2 Control
45 GY 23 Generator Field Duty Cycle Signal
46 - - Not Available
47 GY 2198 CMP Actuator Solenoid High Control
48 D-GN 1655 HO2S High Signal Bank 1 Sensor 1
49-50 - - Not Available
51 TN 472 IAT Sensor Signal
52 BK 2761 Low Reference
53 PK/BK 1746 Fuel Injector 3 Control
54 L-BU/BK 844 Fuel Injector 4 Control
55 BK/WH 845 Fuel Injector 5 Control
56 L-GN/BK 1745 Fuel Injector 2 Control
57 - - Not Available
58 D-GN 676 HO2S Heater High Control Bank 1 Sensor 1
59 L-BU 2123 IC 3 Control
60 D-GN/WH 2124 IC 4 Control
61-63 - - Not Available
64 BK 2760 Low Reference
65 BN 582 TAC Motor Control - 2
66 YE 581 TAC Motor Control - 1
67 - - Not Available
68 D-BU 496 KS Signal
69 GY 1716 KS Signal
70-72 - - Not Available
73 BK/WH 451 Ground