LEMON Manuals: Even more car manuals for everyone
Home >> Hummer >> 2006 >> H3 Standard >> Repair and Diagnosis (Single Page) >> Quick Lookups >> Wiring Diagrams >> OEM Connector End Views >> Computer/Integrating Systems Connector End Views >> Body Control Module (BCM) Connector End View C2

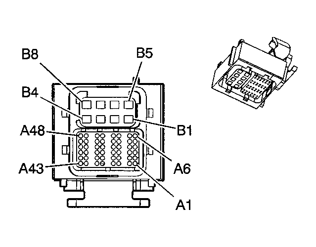
Body Control Module (BCM) Connector End View C2

Fig 1: Body Control Module (BCM) C2 Connector End Views
GM1567318Courtesy of GENERAL MOTORS CORP.
Body Control Module (BCM) C2 Connector Parts Information

Connector Part Information 
  • OEM: 15480439
  • Service: See Catalog
  • Description: 56-Way F Micro 64/GT 280 Series (GY)
Terminal Part Information 
  • Pins:
  • Terminal: 15359541 / 4
  • Core/Insulation Crimp:
  • Release Tool/Test Probe: 15381651-2 / J-35616-64A (L-BU)
Body Control Module (BCM) C2 Terminal Identification

Pin Wire Color Circuit No. Function
A1 PU 524 Headlamp Dimmer Switch High Beam Signal
A2 WH 103 Headlamp Switch Headlamps On Signal
A3 GY 112 Windshield Wiper Switch Signal 1
A4 BN/WH 230 Instrument Panel Lamps Dimming Control
A5 YE 183 Front Fog Lamp Indicator Control
A6 L-BU 2114 Left Rear Turn Signal Lamp Supply Voltage
A7 BN/WH 301 Park Lamp Switch Signal
A8 BN 1356 Flash To Pass Switch Signal
A9 PU/WH 549 Headlamp Switch Headlamps Off Signal
A10 PU 719 Low Reference
A11 D-BU/WH 1495 Dome Override Switch Signal
A12 PU 328 Interior Lamp Switch Signal
A13 D-BU/WH 6796 ONSTAR Voice Recognition Switch Signal
A14 WH 1390 Off/Run/Crank Voltage
A15-A16 - - Not Used
A17 BN/WH 1571 Traction Control Switch Signal
A18 OG 192 Front Fog Lamp Switch Signal
A19 GY 728 Security Indicator Control
A20-A23 - - Not Used
A24 L-BU 292 Rear Defog Switch Signal
A25 BK 28 Horn Relay Control
A26 D-BU 2115 TCS Requested Indicator Control
A27 GY 8 Instrument Panel Lamps Dimmer Switch Signal
A28 GY 8 Instrument Panel Lamps Dimmer Switch Signal
A29 GY 8 Instrument Panel Lamps Dimmer Switch Signal
A30 GY 8 Instrument Panel Lamps Dimmer Switch Signal
A31 BN 323 Shift Solenoid Supply Voltage
A32 TN 683 Rear Defog Indicator Supply Voltage
A33 GY 8 Instrument Panel Lamps Dimmer Switch Signal
A34 GY 8 Instrument Panel Lamps Dimmer Switch Signal
A35 - - Not Used
A36 GY 8 Instrument Panel Lamps Dimmer Switch Signal
A37 WH 278 Ambient Light Sensor Signal
A38 PU 1807 Class 2 Serial Data
A39 PU 1807 Class 2 Serial Data
A40 OG 1732 Inadvertant Power Supply Voltage
A41 WH 156 Courtesy Lamp Low Control
A42 WH/BK 1073 Ignition Key Resistor Signal
A43 BK 279 Ambient Light Sensor Low Reference
A44 PU 1807 Class 2 Serial Data
A45 L-BU 1508 Turn Signal Switch Signal
A46 OG 1732 Courtesy Lamp Supply Voltage
A47 WH 156 Courtesy Lamp Low Control
A48 WH 111 Hazard Switch Signal
B1-B4 - - Not Used
B5 RD 228 Windshield Washer Pump Control
B7 BN 4 Accessory Voltage
B8 D-BU 338 Run/Crank Voltage