LEMON Manuals: Even more car manuals for everyone
Home >> Hummer >> 2003 >> H2 >> Repair and Diagnosis (Single Page) >> Quick Lookups >> Wiring Diagrams >> OEM Connector End Views >> Connector End Views >> Sunroof Module Connector End View

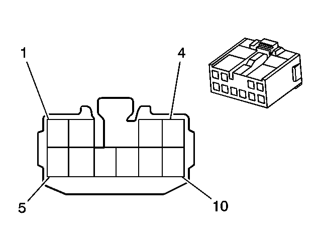
Sunroof Module Connector End View

Sunroof Module Connector End View

GM831385Courtesy of GENERAL MOTORS CORP.
Connector Part Information
  • 15336184
  • 10-Way F AMP (WHT)
Pin Wire Color Circuit No. Function
1-4 - - Not Used
5 TAN 755 Sunroof Relay Switched Output
6 - - Not Used
7 BLK 1050 Ground
8 - - Not Used
9 BRN 100 Sunroof Switch Open Signal
10 ORN 110 Sunroof Switch Close Signal