LEMON Manuals: Even more car manuals for everyone
Home >> Hummer >> 2003 >> H2 >> Repair and Diagnosis (Single Page) >> Accessories & Equipment >> Headlights >> Lighting Systems >> Component Locator >> Lighting Systems Component Views

Lighting Systems Component Views

Fig 1: Clearance Lamp - LR
GM825915Courtesy of GENERAL MOTORS CORP.
Callout Component Name
1 Clearance Lamp - LR
2 Clearance Lamp Connector - LR
3 Body Harness
Fig 2: Courtesy Lamp-Left Front Door
GM827509Courtesy of GENERAL MOTORS CORP.
Callout Component Name
1 Left Front Door
2 Courtesy Lamp - Left Front Door
3 Courtesy Lamp - Left Front Door Connector
Fig 3: Courtesy/Reading Lamps - Front/Center/Rear
GM827035Courtesy of GENERAL MOTORS CORP.
Callout Component Name
1 Courtesy/Reading Lamp - Center
2 Courtesy/Reading Lamp - Right Front
3 Courtesy/Reading Lamp - Left Front
4 Overhead Console
5 Courtesy/Reading Lamp - Rear
Fig 4: Courtesy Lamp-Left Rear Door
GM827741Courtesy of GENERAL MOTORS CORP.
Callout Component Name
1 Door - Left Rear
2 Courtesy Lamp - Left Rear Door Connector
3 Courtesy Lamp - Left Rear Door
Fig 5: Courtesy Lamp - Right B Pillar
GM825591Courtesy of GENERAL MOTORS CORP.
Callout Component Name
1 Courtesy Lamp - Right B Pillar
2 B Pillar Trim Panel
3 Body Harness
Fig 6: Daytime Running Lamp (DRL) - Left
GM826376Courtesy of GENERAL MOTORS CORP.
Callout Component Name
1 Front Bumper
2 Forward Lamp Harness
3 DRL - Left
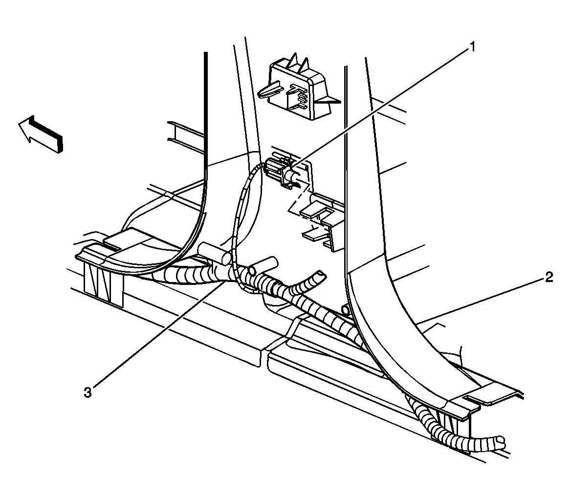
Fig 7: Footwell Courtesy Lamp-Left
GM819776Courtesy of GENERAL MOTORS CORP.
Callout Component Name
1 BCM - C1
2 BCM - C2
3 BCM - C4
4 BCM - C3
5 BCM - C5
6 Body Control Module (BCM)
7 Footwell Courtesy Lamp - Left
8 Data Link Connector (DLC)
9 Fuse Block - I/P - C1
10 Fuse Block - I/P Center Block
11 Splice Pack SP205
Fig 8: Footwell Courtesy Lamp - Right
GM820125Courtesy of GENERAL MOTORS CORP.
Callout Component Name
1 Junction Block - IP - C1
2 IP Harness
3 Footwell Courtesy Lamp Socket - Right
4 Footwell Courtesy Lamp Bulb - Right
Fig 9: Headlamp - High Beam/Low Beam - Left and Park/Turn Signal Lamp - Left
GM826183Courtesy of GENERAL MOTORS CORP.
Callout Component Name
1 Headlamp - High Beam/Low Beam - Left
2 Forward Lamp Harness
3 Park/Turn Signal Lamp - Left
Fig 10: Headlamp and Panel Dimmer Switch
GM819766Courtesy of GENERAL MOTORS CORP.
Callout Component Name
1 Instrument Panel
2 Headlamp and Panel Dimmer Switch
3 Rear Wiper/Washer Switch
Fig 11: Junction Block - Rear
GM828298Courtesy of GENERAL MOTORS CORP.
Callout Component Name
1 Junction Block - Rear
2 Junction Block - Rear - C1 - (Chassis Harness)
3 Junction Block - Rear - C2 - (Left Tail Lamp Assembly)
4 Chassis Harness
5 Junction Block - Rear - C3 - (Right Tail Lamp assembly)
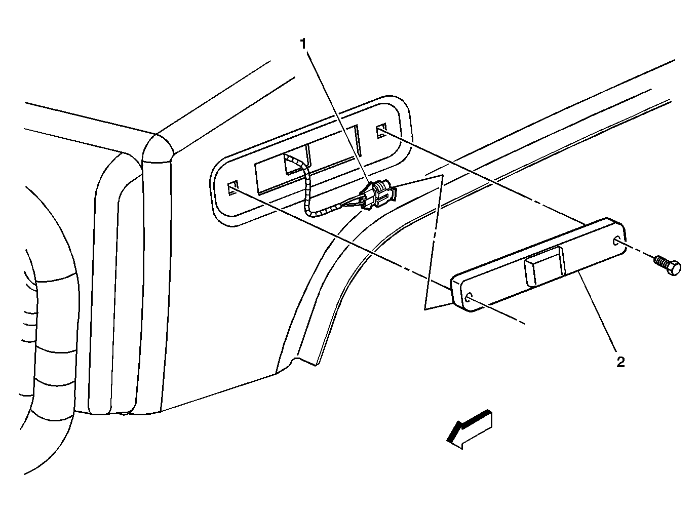
Fig 12: I/P Compartment Lamp
GM820096Courtesy of GENERAL MOTORS CORP.
Callout Component Name
1 I/P Compartment Lamp Connector
2 I/P Compartment Lamp
Fig 13: Liftgate Ajar Switch - Left/Right
GM827705Courtesy of GENERAL MOTORS CORP.
Callout Component Name
1 Center High Mounted Stop Lamp (CHMSL) Connector
2 Rear Window Defogger Grid Connector
3 Rear Window Defogger Grid Connector
4 Splice S900
5 Rear Window Wiper Module - w/Motor
6 Door Lock Actuator - Liftgate
7 Liftgate Ajar Switch - Left
8 Liftgate Ajar Switch - Right
9 Splice S902
10 Splice S901
Fig 14: Marker Lamp - LF
GM826379Courtesy of GENERAL MOTORS CORP.
Callout Component Name
1 Marker Lamp Connector - LF
2 Marker Lamp - LF
Fig 15: Marker Lamp - RR
GM825863Courtesy of GENERAL MOTORS CORP.
Callout Component Name
1 RH Body Inner Panel
2 Marker Lamp - RR
3 Forward Lamp Harness
4 Marker Lamp Connector - RR
Fig 16: Off Road Lamps - Roof
GM1201199Courtesy of GENERAL MOTORS CORP.
Callout Component Name
1 Off Road Lamps - Switch
2 Overhead Console w/Front Courtesy/Reading Lamps (CF5)
3 Off Road Lamps - Roof
4 Relay Block - I/P
5 Relay Block - I/P C7 (Off Road Lamp Harness)
6 Off Road Lamps Relays
7 Instrument Panel Rail
Fig 17: Roof Lamps - Center Front and Clearance Lamp - LF
GM827173Courtesy of GENERAL MOTORS CORP.
Callout Component Name
1 Clearance Lamp - LF
2 Roof Marker Lamp Harness
3 Clearance Lamp Connector - LF
4 Cell Phone/GPS Antenna
5 Roof Lamp - Center Front
6 Roof Lamp - Center Front
7 Splice S345
8 Roof Lamp - Center Front
9 Splice S303
Fig 18: Roof Lamps - Center Rear, Center High Mounted Stop Lamp (CHMSL) and License Lamps
GM827679Courtesy of GENERAL MOTORS CORP.
Callout Component Name
1 Liftgate Harness
2 C420
3 CHMSL
4 Roof Lamps - Center Rear
5 License Lamp
6 License Lamp
Fig 19: Stop Lamp Switch
GM829262Courtesy of GENERAL MOTORS CORP.
Callout Component Name
1 Brake Pedal Assembly
2 Stop Lamp Switch
Fig 20: Tail Lamp Assembly - LH
GM874340Courtesy of GENERAL MOTORS CORP.
Callout Component Name
1 Junction Block - Rear
2 Junction Block - Rear - C2
3 Junction Block - Rear - C3
4 Tail Lamp Harness - LH
5 Tail Lamp Assembly
Fig 21: Turn Signal/Multifunction Switch
GM851228Courtesy of GENERAL MOTORS CORP.
Callout Component Name
1 Horn Switch
2 Steering Wheel Controls
3 Turn Signal/Multi-Function Switch
Fig 22: Underhood Lamp (If Equipped)
GM826382Courtesy of GENERAL MOTORS CORP.
Callout Component Name
1 Underhood Lamp
2 Underhood Lamp Connector
3 Forward Lamp Harness
Fig 23: Vanity Mirror Lamps
GM826774Courtesy of GENERAL MOTORS CORP.
Callout Component Name
1 Inside Rearview Mirror Connector
2 Vanity Mirror Lamp Connector - Left
3 Vanity Mirror Lamp Connector - Right