LEMON Manuals: Even more car manuals for everyone
Home >> Hummer >> 2003 >> H2 >> Repair and Diagnosis (Single Page) >> Accessories & Equipment >> Entertainment Systems >> Cellular Communication >> Component Locator >> Cellular Communication Component Views

Cellular Communication Component Views

Fig 1: Cell Phone/GPS Antenna
GM827173Courtesy of GENERAL MOTORS CORP.
Callout Component Name
1 Clearance Lamp-LF
2 Roof Marker Lamp Harness
3 Clearance Lamp Connector-LF
4 Cell Phone/GPS Antenna
5 Roof Lamp-Center Front
6 Roof Lamp-Center Front
7 Splice S345
8 Roof Lamp-Center Front
9 Splice S303
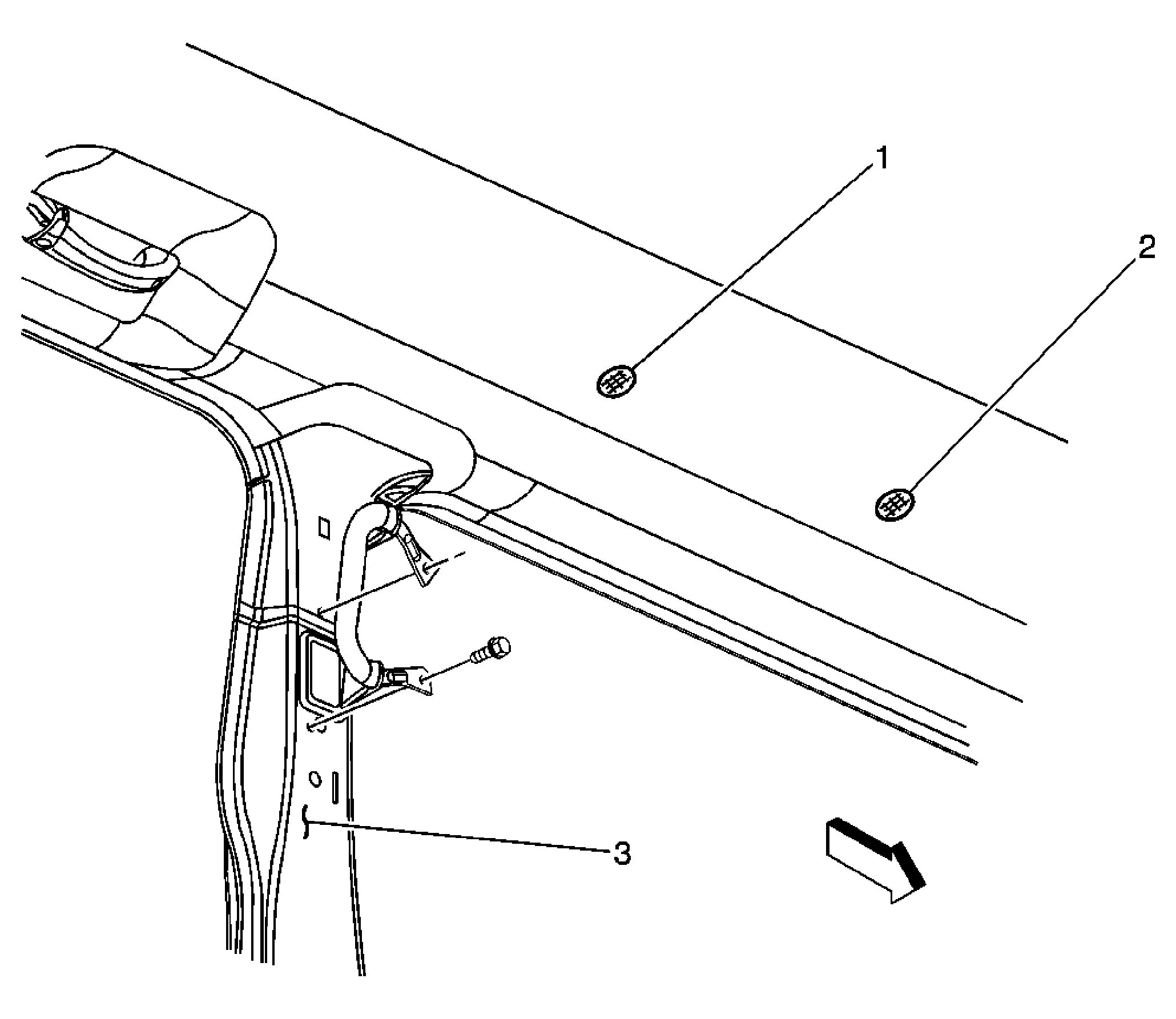
Fig 2: Cellular Telephone Microphone
GM874471Courtesy of GENERAL MOTORS CORP.
Callout Component Name
1 Ambient Air Temperature Assembly-Inside
2 Cellular Telephone Microphone
3 B Pillar-Left Side
Fig 3: OnStar® Button Assembly
GM869267Courtesy of GENERAL MOTORS CORP.
Callout Component Name
1 OnStar® Button Assembly w/VCIM
Fig 4: Vehicle Communication Interface Module
GM819919Courtesy of GENERAL MOTORS CORP.
Callout Component Name
1 I/P Harness
2 Vehicle Communication Interface Module
3 Vehicle Communication Interface Module-C3
4 Vehicle Communication Interface Module-C2
5 Vehicle Communication Interface Module-C1