LEMON Manuals: Even more car manuals for everyone
Home >> Honda >> 2023 >> Pilot LX, AWD >> Repair and Diagnosis >> Accessories & Equipment >> Anti-Theft Systems >> Security System / Keyless Entry System - Testing & Troubleshooting >> Description and Operation >> Keyless/Power Door Locks/Security System Description

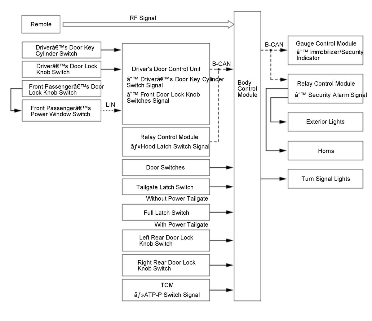
Keyless/Power Door Locks/Security System Description

Door Lock Control 

The door lock control function allows the body control module to detect the status of various switch signals and control each actuator in order to lock and unlock the doors.

The system has three circuits between the door lock actuators and the body control module to improve safety of the system. One is for the driver's door lock actuator, and others are for the left rear door lock actuator and passenger's side door lock actuators. The door lock actuator circuit has two fuses. When one fuse is blown, another fuse in the same circuit must be checked.

GHH582458Courtesy of HONDA, U.S.A., INC.

Tailgate Release Control (Without Power Tailgate) 

In the tailgate release function, the body control module activates the tailgate release actuator by the tailgate outer handle switch operation when the vehicle runs at a speed less than 1.2 mph (2 km/h). The tailgate can be unlocked by the tailgate outer handle switch operation without having the remote if all the doors are unlocked.

GHH582459Courtesy of HONDA, U.S.A., INC.

Keyless Door Lock Control 

When you press the LOCK button, all the doors lock. When you press the UNLOCK button once, only the driver's door unlocks. The other doors will unlock when you press the button a second time. The doors will not lock with the transmitter if a door is not fully closed, or if the vehicle is in the ON mode. Also, if the door is not opened within 30 seconds after the unlock operation, the relock operation is performed. The customization menu can set the relock timer value.

GHH582460Courtesy of HONDA, U.S.A., INC.

Keyless Answer Back Control 

When using the remote, the body control module provides an answer back function to alert the operator that the body control module received a lock or unlock command from the remote. When the body control module receives a lock signal, the body control module sends the turn signal light signal once. When the body control module receives an unlock signal, it sends the turn signal light signal two times.

Lock 

GHH582461Courtesy of HONDA, U.S.A., INC.

Unlock 

GHH582462Courtesy of HONDA, U.S.A., INC.

Key Lockout Prevent Function 

The body control module monitors whether or not the remote is in the vehicle. If the remote is in the vehicle, the system will not lock the doors. If the driver manually locks and closes the doors with the remote in the vehicle, the body control module energizes the door lock actuator and unlocks the doors. Also, if the tailgate is closed with the remote in the vehicle, all the doors are closed, and the driver's door lock knob is in the lock position, the body control module energizes the door lock actuator and unlocks the doors*1 or the tailgate can be unlocked by the tailgate outer handle switch operation*2. In addition, when the key lockout prevent function operates, the answer back is performed.

*1: Without power tailgate

*2: With power tailgate

GHH582463Courtesy of HONDA, U.S.A., INC.

Automatic Door Lock/Unlock Control 

The automatic door lock/unlock control function allows the body control module to detect the status of B-CAN and other various switch signals and control each actuator in order to automatically lock/unlock the doors.

Automatic Door Lock Function: 

Automatic Door Unlock Function: 

Customizing Function: 

The locking method can be set as non-link, link to vehicle speed, link to shift position/mode, or link to engine start/stop switch by the customizing function. For more information about customization options, refer to the Owner's manual.

Security Control 

When the security alarm is set, the body control module sends the security set signal using the B-CAN.

GHH582464Courtesy of HONDA, U.S.A., INC.

Security system operating term 

Start setting
  • Lock the door using a mechanical key
  • Lock the door by using the remote
  • Lock the door by smart function
  • Operate a keyless relock
Cancellation
  • Unlock the door by using the remote
  • Unlock the door by smart function
  • Press the engine start/stop switch button while having the remote
  • Unlock the door using a mechanical key
Setting conditions (related systems are normally operated)
  • Door switch OFF (Door closed)
  • Door unlock knob switch OFF (Lock)
  • Tailgate latch switch*1 or full latch switch*2 OFF (Tailgate close)
  • Driver's door key cylinder switch OFF
  • Hood latch switch ON (Hood closed)
  • Vehicle OFF (LOCK) mode
  • ATP-P Signal is ON
Start the alarm When any of the monitoring switch signal inputs are received without the signal for cancelling setting
Cancel the alarm Compliant with the conditions for cancelling setting

*1: Without power tailgate

*2: With power tailgate

Security Setting 

When the security alarm is set, the body control module sends the security set signal using the B-CAN. When the gauge control module receives a security set signal from the body control module, the security indicator flashes at a slower pace to indicate the system has armed.

GHH582465Courtesy of HONDA, U.S.A., INC.

Security Alarm 

With the security system armed, manually opening the hood, the tailgate, or moving the door lock knob to the unlock position activates the security alarm. Alternatively, the security alarm sounds, the headlights low beam, the front parking lights, the taillights, the license plate light, and the side marker lights blink, repeating this alarm (one cycle is 120 seconds). Even if you remove the 12 volt battery, the alarming state cannot be changed. The alarm starts again when reinstalling the 12 volt battery.

GHH582466Courtesy of HONDA, U.S.A., INC.

Security Answer Back Control 

When using the remote, the body control module provides an answer back function to alert the customer that the body control module received a lock command from the remote. When the body control module receives a lock signal, the body control module outputs once to turn on the turn signal lights, and the keyless buzzer will sound.

GHH582467Courtesy of HONDA, U.S.A., INC.

When the body control module receives a lock signal, the body control module sends signals once to the turn signal lights, and the keyless buzzer will sound once when you operates the lock again within 5 seconds.

GHH582468Courtesy of HONDA, U.S.A., INC.