LEMON Manuals: Even more car manuals for everyone
Home >> Honda >> 2023 >> Pilot EX-L, FWD >> Repair and Diagnosis >> Engine Performance >> Engine Control Systems >> Engine Mechanical / Engine Control System - Service, Testing And Troubleshooting >> Description and Operation >> Auto Idle Stop System Description

Auto Idle Stop System Description

Overview 

System Description 

The auto idle stop system is a system that stops and restarts the engine automatically to help maximize fuel economy depending on environmental and vehicle operating conditions.The system can help reduce fuel consumption, idling noise, and any emissions. Conditions such as driver's operation, vehicle state and the environment determine if the vehicle can enter auto idle stop.

Basic System Operations 

Auto Idle Stop Indicator (During auto idle stop: Green) 

GHH578014Courtesy of HONDA, U.S.A., INC.

Auto Idle Stop OFF Indicator 

GHH578015Courtesy of HONDA, U.S.A., INC.

Auto Idle Stop Suspend Indicator 

GHH578016Courtesy of HONDA, U.S.A., INC.

Auto Idle Stop System Indicator (On malfunction: Amber blinks) 

GHH578017Courtesy of HONDA, U.S.A., INC.

System Determination Pattern 

After the vehicle is turned to the ON mode, the system is activated and starts a constant monitor of various conditions.The system then determines if an auto idle stop or an engine restart (after the engine has stopped) can be executed.

Auto idle stop at full stop (vehicle speed is 0 mph (0 km/h)) 

GHH578018Courtesy of HONDA, U.S.A., INC.

Auto Idle Stop Control Signal 

The PCM monitors signals from control units, sensors, and switches to determine if the vehicle can execute/continue an auto idle stop or if it can restart the engine.When the PCM determines that the auto idle stop can executed, it stops the fuel injection and stops the engine.When it determines an engine restart, it operates the starter and resumes fuel injection to start the engine.If the PCM receives a malfunction signal from a control unit or the conditions are not met, the auto idle stop is not executed.

Transmitting and Received Signals to/from the PCM 

Target Unit, Sensor and Switch Transmitting Signal Received Signal Remarks
Related control units System malfunction signal (see detailed information below this chart) -  
Idle stop off switch* Auto idle stop selected signal - -
Integrated dynamics system switch (Dynamic mode switch)* Mode selected signal - -
Hood latch switch* Hood open/close signal - -
Driver's seat belt switch* Seat belt latched/unlatched signal - -
EPS control unit* Steering torque signal
  • Steering torque signal
  • Steering angle information
- -
SBW shifter control module Shift position information - -
TCM (Countershaft speed sensor) Output shaft (countershaft) speed (vehicle speed) information - The signal is sent to the TCM. The TCM sends the determination of the auto idle stop system to the PCM based on the signal.
TCM (ATF temperature sensor) ATF temperature information - The signal is sent to the TCM. The TCM sends the determination of the auto idle stop system to the PCM based on the signal.
TCM Transmission status information
  • Execution/prohibition signal of the auto idle stop
Engine status information
  • Engine speed
-
Brake pedal position switch Brake pedal on/off signal - -

*: Signals are input via the CAN gateway

Target Unit, Sensor and Switch Transmitting Signal Received Signal Remarks
VSA modulator-control unit*
  • Hydraulic control operating information
  • Vehicle speed information
  • Braking torque information (see detailed information below this chart)
  • Starting Assist Brake Function information
  • Automatic brake hold system operation information
  • Temporarily inhibits information of auto idle stop transition
  • Temporarily inhibits information of engine restart from auto idle stop
Starting Assist Brake request signal  
Electric brake booster* Electric brake booster system information - -
SRS unit* Vehicle inclination angle information - -
Driving support system (ACC)* ACC operating information - -
Accelerator pedal module (APP sensor) Accelerator pedal on/off signal - -
Engine coolant temperature (ECT) sensor Engine temperature information - -
Barometric pressure (BARO) sensor Atmospheric pressure (altitude) information - -
Climate control unit* Auto idle stop permission signal by the climate control system (see detailed information below this chart) -  
Starter - Starter operating command signal (see detailed information below this chart)  
12 volt battery sensor 12 volt battery status information (see detailed information below this chart)
  • Internal resistance value
  • Battery fluid temperature
  • Current value
  • Voltage value
-  
DC-DC converter* Unit quality information (see detailed information below this chart) -  

*: Signals are input via the CAN gateway

Target Unit, Sensor and Switch Transmitting Signal Received Signal Remarks
Gauge control module -
  • Indicator lamps on/off signal or blink signal
  • Auto idle stop message indication signal
During auto idle stop:
  • Auto idle stop indicator (green) is turned on
  • Engine oil pressure warning indicator goes off
  • Charging system indicator goes off

When the idle stop system off switch is on:

  • Auto idle stop off indicator is turned on

When the auto idle stop cannot be executed or the engine cannot be restarted:

  • Auto idle stop suspend indicator is turned on
  • Idle stop message is indicated (see detailed information below this chart)

When there is a failure of the auto idle stop system:

  • Auto idle stop system indicator (amber) blinks
Injector - Fuel injection stop/injection command signal -
Fuel pump - Fuel pump ON/OFF command signal When the engine is stopped by the auto idle stop system, the fuel pump is turned OFF by the PCM.
Alternator - Alternator operating command -

*: Signals are input via the CAN gateway

Detailed Information of the Control or Communication Signal 

System Malfunction Signal 

If there is a malfunction in the auto idle system and related systems, the auto idle stop system indicator (amber) will blink anda message displays in the multi-information display to inform the driver.

GHH578019Courtesy of HONDA, U.S.A., INC.

If a malfunction is detected in the following system, the auto idle stop is prohibited.

System malfunction indications for prohibiting the auto idle stop 

System Warning indicator Remarks
Starter system
GHH578020GHH578021Courtesy of HONDA, U.S.A., INC.HONDA, U.S.A., INC.
GHH578020GHH578021Courtesy of HONDA, U.S.A., INC.HONDA, U.S.A., INC.

NOTE:  There are some kinds of indications which are different by applicable area.
If the starter motor has reached maximum cycle count, this indicator will be displayed, but the auto idle stop system will remain enabled.
Auto idle stop system
GHH578022Courtesy of HONDA, U.S.A., INC.
Possible cause:
  • DC-DC converter
  • 12 volt battery sensor
  • Alternator
  • Climate control unit
  • Brake system (electric brake booster system)
Charging system
GHH578023Courtesy of HONDA, U.S.A., INC.
 
PGM-FI system
GHH578024Courtesy of HONDA, U.S.A., INC.
Even if this indicator is displayed, the auto idle stop system may be enabled according to the contents of malfunction.
A/T control system
GHH578025Courtesy of HONDA, U.S.A., INC.
All segments blink.
EPS control system
GHH578026Courtesy of HONDA, U.S.A., INC.
 
VSA system (ABS)
GHH578027Courtesy of HONDA, U.S.A., INC.
Even if this indicator is displayed, the auto idle stop system may be enabled according to the contents of malfunction.
VSA system
GHH578028Courtesy of HONDA, U.S.A., INC.
Even if this indicator is displayed, the auto idle stop system may be enabled according to the contents of malfunction.
Brake system
GHH578029GHH578030Courtesy of HONDA, U.S.A., INC.HONDA, U.S.A., INC.
GHH578029GHH578030Courtesy of HONDA, U.S.A., INC.HONDA, U.S.A., INC.

(Red)

NOTE:  There are indications which are different by applicable area.

Even if this indicator is displayed, the auto idle stop system may be enabled according to the contents of malfunction.
System Warning indicator Remarks
Electric brake booster system
GHH578031GHH578032Courtesy of HONDA, U.S.A., INC.HONDA, U.S.A., INC.
GHH578031GHH578032Courtesy of HONDA, U.S.A., INC.HONDA, U.S.A., INC.

(Red)

NOTE:  There are indications which are different by applicable area.

Auto idle stop is prohibited when the servo function malfunction.
Automatic brake hold system
GHH578033GHH578034Courtesy of HONDA, U.S.A., INC.HONDA, U.S.A., INC.
GHH578033GHH578034Courtesy of HONDA, U.S.A., INC.HONDA, U.S.A., INC.

(Amber)

NOTE:  There are indications which are different by applicable area.

 
SRS system
GHH578035Courtesy of HONDA, U.S.A., INC.
Even if this indicator is displayed, the auto idle stop system may be enabled according to the contents of malfunction.

Braking Torque Information (lack of brake pedal force) 

If the braking torque is less than the required torque to execute auto idle stop such as when the driver's brake pedal force is insufficient, the auto idle stop is prohibited. In this case, a message is displayed in the multi-information display to inform the driver.

Idle Stop Permission Signal from the Climate Control System 

To maintain cabin comfort, the climate control unit transmits the auto idle stop to to activate, prohibit, or restarts the engine based on the PCM readings of sensors and switches.

Transmitting and received signals to/from the climate control unit 

Target unit, sensor and switch Transmitting Signal Received Signal
Engine coolant temperature (ECT) sensor Engine temperature information -
Windshield defrost button/switch Windshield defrost on/off signal -
Temperature and fan control button/switch (climate control unit) Cabin temperature and air volume setting information -
Outside air temperature sensor Outside air temperature information -
Evaporator temperature sensor Evaporator temperature information -
Humidity/in-car temperature sensor Humidity and in-car temperature information in the cabin -
Sunlight sensor Sunlight information -
PCM - Auto idle stop implementation/prohibition determination information from the climate control system.

Starter Operating Command Signal 

The PCM counts the number of times the starter is operated. If it exceeds a specified number, the starter system warning message displays in the gauge control module to inform the driver that the starter system requires maintenance.

Starter system indictor (Starter system warning message) 

GHH578036Courtesy of HONDA, U.S.A., INC.

12 Volt Battery Status Information 

The PCM receives the 12 volt battery status signal and determines the state of quality and its amount of deterioration.When a malfunction is detected, the auto idle stop operation is prohibited and a message is displayed in the multi-information display to alert the driver (when the battery is deteriorated). The 12 volt battery internal resistance information is memorized in the PCM.

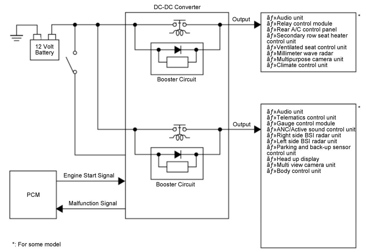
DC-DC Converter Unit Quality Information 

The DC-DC converter supplies stable power to the vehicle when the battery voltage drops during engine restart.If there is a malfunction in the DC-DC converter, a signal is sent to the PCM and either prohibits the auto idle stop operation or engine restart.If the DC-DC converter malfunctions during engine restart, the starter operation continues but the stable power that the vehicle would have received from the DC-DC converter is not supplied.

Simple Circuit Diagram for Description 

GHH578037Courtesy of HONDA, U.S.A., INC.

Pressurization Graphic by the DC-DC converter 

GHH578038Courtesy of HONDA, U.S.A., INC.

Idle Stop Message Indication 

If the auto idle stop is prohibited by the vehicle condition when the vehicle is stopped, or the engine is restarted automatically during the auto idle stop, the idle stop message for prohibition or restart is displayed in the multi-information display for several seconds. The message can be turned on or off by pressing and holding the auto idle stop OFF switch.

Message Vehicle Condition*1
GHH578039Courtesy of HONDA, U.S.A., INC.
  • When auto idle stop cannot be performed due to the following conditions:
    • Transmission temperature is out of specified range
    • Estimated 12 V battery temperature is lower than specified
    • Stopping the vehicle on a steep slope
    • Auto idle stop cannot be performed for some reason other than the above
GHH578040Courtesy of HONDA, U.S.A., INC.
  • When the engine restarted automatically due to the following conditions:
    • Press and release the brake pedal repeatedly
    • Transmission fluid temperature is out of specified range
    • Engine restarted automatically for some reason other than the above

*1: Refer to the Available Conditions and Engine Restart Conditions for Auto Idle Stop - Refer to: Auto Idle Stop System Description ()  or Auto Idle Stop System Description - Operation Conditions () .

Message Vehicle Condition*1
GHH578041Courtesy of HONDA, U.S.A., INC.
  • When auto idle stop cannot be performed due to the following conditions:
    • Engine coolant temperature is out of specified range
GHH578042Courtesy of HONDA, U.S.A., INC.
  • When auto idle stop cannot be performed due to the following conditions:
    • Engine was started with the hood open
    • 12 V battery charging condition is out of specified range
  • When the engine restarted automatically due to the following conditions:
    • 12 V battery discharging condition is high
    • Estimated 12 V battery temperature is lower than specified range
GHH578043Courtesy of HONDA, U.S.A., INC.
  • When auto idle stop cannot be performed due to the following conditions:
    • During the climate control system control, the cabin temperature difference between commanded versus actual is large
    • Windshield defrost is used
  • When the engine restarted automatically due to the following conditions:
    • During the climate control system control, the cabin temperature difference between commanded versus actual is large
    • Windshield defrost is used
GHH578044Courtesy of HONDA, U.S.A., INC.
  • When auto idle stop cannot be performed due to the following conditions:
    • Shift position is other than D position

*1: Refer to the Available Conditions and Engine Restart Conditions for Auto Idle Stop - Refer to: Auto Idle Stop System Description ()  or Auto Idle Stop System Description - Operation Conditions () .

Message Vehicle Condition*1
GHH578045Courtesy of HONDA, U.S.A., INC.
  • When auto idle stop cannot be performed due to the following conditions:
    • Brake pedal pressing force is insufficient (auto idle stop can be performed by further depressing the brake pedal)
GHH578046Courtesy of HONDA, U.S.A., INC.
  • When auto idle stop cannot be performed due to the following conditions:
    • Dynamic mode is turned to Sport mode, Snow mode, Trail mode, Sand mode, or Tow mode
    • Dynamic mode is turned to Individual mode, and Idle Stop Disabled is selected in that mode

*1: Refer to the Available Conditions and Engine Restart Conditions for Auto Idle Stop - Refer to: Auto Idle Stop System Description ()  or Auto Idle Stop System Description - Operation Conditions () .