LEMON Manuals: Even more car manuals for everyone
Home >> Honda >> 2021 >> Insight EX >> Repair and Diagnosis >> Engine Performance >> System >> Engine Control System - Advanced Diagnostics (1 Of 2) >> Advanced Diagnostics >> DTC P04C1 >> General Description

DTC P04C1: General Description

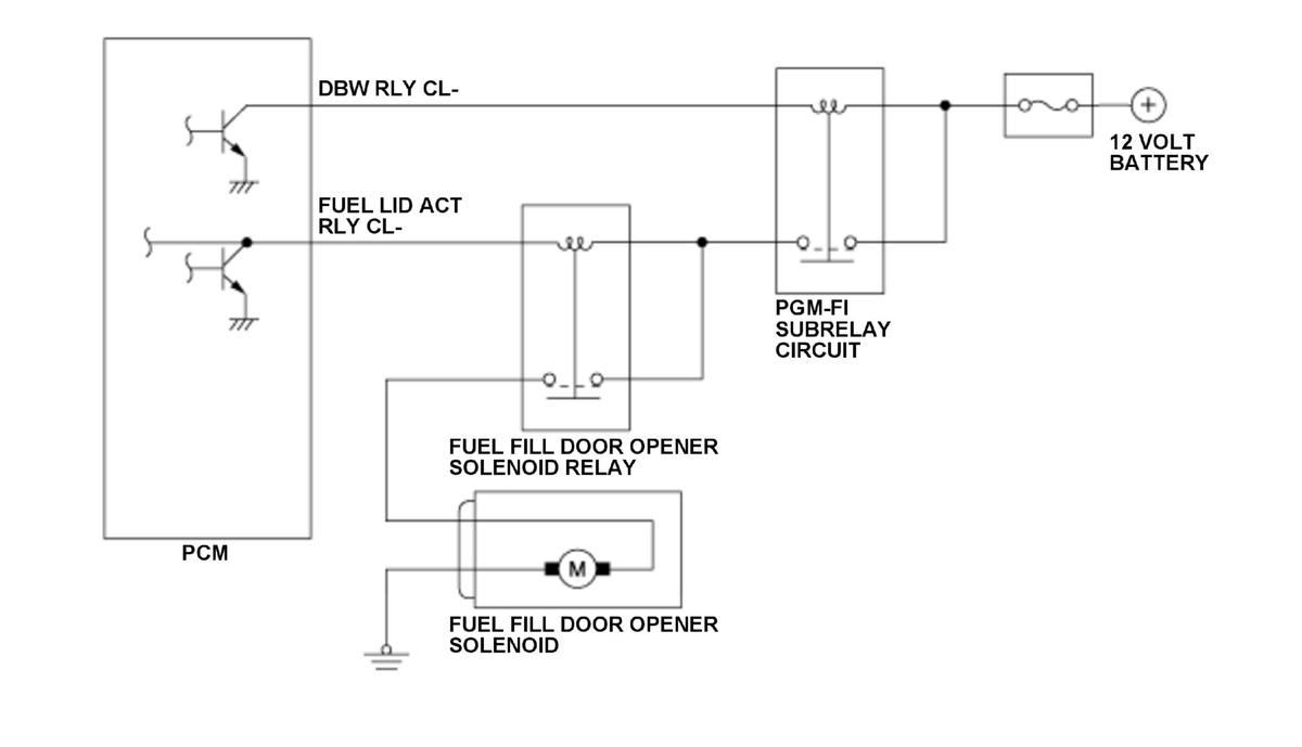
GHH384528Courtesy of HONDA, U.S.A., INC.

The fuel fill door opener solenoid relay is installed to switch the power source of the actuator for the fuel lid open control for refueling. The fuel fill door opener solenoid relay is normally non-energized and the fuel lid is closed. The powertrain control module (PCM) detects a malfunction and stores a DTC when open signal is returned continuously for the prescribed time or more though open signal is not output to the fuel fill door opener solenoid relay.