LEMON Manuals: Even more car manuals for everyone
Home >> Honda >> 2019 >> Odyssey EX >> Repair and Diagnosis >> Engine Performance >> Engine Control Systems >> Engine Control System / Engine Mechanical - Service Information >> Overhaul >> Engine Block Overhaul >> Inspection

Engine Block Overhaul: Inspection

Connecting Rod and Crankshaft End Play Inspection 

  1. Connecting Rod and Crankshaft End Play - Inspect
    GHH444268Courtesy of HONDA, U.S.A., INC.
    1. Measure the connecting rod end play with a feeler gauge (A) between the connecting rod (B) and the crankshaft (C).

    Connecting Rod End Play 

    2. If the connecting rod end play is beyond the service limit, install a new connecting rod, and recheck. If it is still beyond the service limit, replace the crankshaft.

    Standard (New):  0.15-0.35 mm (0.006-0.013 in) 
    Service Limit:  0.45 mm (0.017 in) 
    GHH444269Courtesy of HONDA, U.S.A., INC.
    3. Push the crankshaft firmly away from the dial indicator by prying, and zero the dial against the end of the crankshaft. Then pull the crankshaft firmly back toward the indicator by prying; the dial reading should not exceed the service limit.

    Crankshaft End Play 

    4. If the crankshaft end play is beyond the service limit, replace the thrust washers and recheck. If it is still beyond the service limit, replace the crankshaft.

    Standard (New):  0.10-0.35 mm (0.0039-0.0138 in) 
    Service Limit:  0.45 mm (0.0177 in) 

    Main Bearing Clearance Inspection 

  2. Main Bearing Cap and Bearing Half - Remove
  3. Main Bearing Clearance - Inspect
    GHH444270Courtesy of HONDA, U.S.A., INC.
    1. Clean each main journal and the bearing half with a clean shop towel.

    2. Place one strip of plastigage across each main journal.

    NOTE:  If the engine is still in the vehicle when you bolt the main cap down to check the clearance, the weight of the crankshaft and the drive plate will flatten the plastigage further than just the torque on the cap bolt and give you an incorrect reading. For an accurate reading, support the crank with a jack under the counterweights, and check only one bearing at a time.

    3. Reinstall the main bearings and the main bearing caps, then torque the bearing cap bolts (A) to 40 N.m (4.1 kgf.m, 30 lbf.ft) + 47°, and the bearing cap side bolts (B) to 49 N.m (5.0 kgf.m, 36 lbf.ft) in the proper sequence.

    • Apply new engine oil to the bolt threads and flanges.
    • Do not rotate the crankshaft during inspection.
    GHH444271Courtesy of HONDA, U.S.A., INC.
    4. Remove the main bearing caps and the bearing halves, and measure the widest part of the plastigage.

    Main Bearing-to-Journal Oil Clearance 

    5. If the plastigage measures too wide or too narrow, remove the crankshaft, and remove the upper half of the bearing. Install a new, complete bearing with the same color code, and recheck the clearance. Do not file, shim, or scrape the bearings or the caps to adjust clearance.

    6. If the plastigage shows the clearance is still incorrect, try the next larger or smaller bearing (the color listed above or below that one), and check the clearance again. If the proper clearance cannot be obtained by using the appropriate larger or smaller bearings, replace the crankshaft and start over.

    Standard (New):  0.019-0.045 mm (0.00075-0.00177 in) 
    Service Limit:  0.050 mm (0.00197 in) 
  4. Crankshaft Main Bearing - Select
    Block Bore Code Locations 
    GHH444272GHH444273GHH444274Courtesy of HONDA, U.S.A., INC.HONDA, U.S.A., INC.HONDA, U.S.A., INC.

    Main Journal Code Locations 

    GHH444272GHH444273GHH444274Courtesy of HONDA, U.S.A., INC.HONDA, U.S.A., INC.HONDA, U.S.A., INC.
    GHH444272GHH444273GHH444274Courtesy of HONDA, U.S.A., INC.HONDA, U.S.A., INC.HONDA, U.S.A., INC.
    1. Letters or bars have been stamped on the end of the engine block as a code for the size of each of the four main journal bores. Use them, and the numbers or bars stamped on the crankshaft (codes for main journal size), to choose the correct bearings.

    NOTE:  If the codes are indecipherable because of an accumulation of dirt and dust, do not scrub them with a wire brush or scraper. Clean them only with solvent or detergent.

    2. Use the block bore codes and the main journal codes to select the appropriate replacement bearings from the following table.

    • Color code is on the edge of the bearing.
    • When using bearing halves of different colors, it does not matter which color is used in the top or bottom.

    Connecting Rod Bearing Clearance Inspection 

  5. Connecting Rod Cap and Bearing Half - Remove
  6. Connecting Rod Bearing Clearance - Inspect
    GHH444275Courtesy of HONDA, U.S.A., INC.
    1. Clean the connecting rod journal and the bearing half with a clean shop towel.

    2. Place plastigage across the rod journal.

    3. Reinstall the bearing half and the connecting rod cap, then torque the connecting rod bolt to 20 N.m (2.0 kgf.m, 15 lbf.ft) + 90°.


    NOTE: 
    • Apply new engine oil to the bolt threads and flanges.
    • Do not rotate the crankshaft during inspection.

    4. Remove the connecting rod cap and the bearing half, and measure the widest part of the plastigage.

    Connecting Rod Bearing-to-Journal Oil Clearance 

    5. If the plastigage measures too wide or too narrow, remove the upper half of the bearing. Install a new, complete bearing with the same color code, and recheck the clearance. Do not file, shim, or scrape the bearings or the caps to adjust clearance.

    6. If the plastigage shows the clearance is still incorrect, try the next larger or smaller bearing (the color listed above or below that one), and check the clearance again. If the proper clearance cannot be obtained by using the appropriate larger or smaller bearings, replace the crankshaft and start over.

    Standard (New):  0.020-0.044 mm (0.00079-0.00173 in) 
    Service Limit:  0.050 mm (0.00197 in) 
  7. Connecting Rod Bearing - Select
    Big End Bore Code Locations 
    GHH444276GHH444277GHH444278Courtesy of HONDA, U.S.A., INC.HONDA, U.S.A., INC.HONDA, U.S.A., INC.

    Connecting Rod Journal Code Locations 

    GHH444276GHH444277GHH444278Courtesy of HONDA, U.S.A., INC.HONDA, U.S.A., INC.HONDA, U.S.A., INC.
    GHH444276GHH444277GHH444278Courtesy of HONDA, U.S.A., INC.HONDA, U.S.A., INC.HONDA, U.S.A., INC.
    1. Inspect the connecting rod for cracks and heat damage.

    2. Numbers or bars have been stamped on the side of each connecting rod as a code for the size of the big end. Use them, and the letters or bars stamped on the crank (codes for rod journal size), to choose the correct bearings.


    NOTE: 
    • If the codes are indecipherable because of an accumulation of dirt and dust, do not scrub them with a wire brush or scraper. Clean them only with solvent or detergent.
    • Each connecting rod falls into one of four tolerance ranges (from 0 to 0.024 mm (0.00094 in), in 0.006 mm (0.00024 in) increments) depending on the size of its big end bore.It is then stamped with a number or bar (1, 2, 3, or 4/I, II, III, or IIII) indicating the range. You may find any combination of 1, 2, 3, or 4/I, II, III, or IIII in any engine.

    Big End Bore Size 

    3. Use the big end bore codes and the rod journal codes to select appropriate replacement bearings from the following table.


    NOTE: 
    • Color code is on the edge of the bearing.
    • When using bearing halves of different colors, it does not matter which color is used in the top or bottom.
    58.0 mm (2.283 in) 

    Crankshaft Inspection 

  8. Crankshaft - Remove
  9. Crankshaft - Inspect
    GHH444279Courtesy of HONDA, U.S.A., INC.
    Journal Diameter, Out-of-Round, and Taper 

    1. Clean the crankshaft oil passages with pipe cleaners or a suitable brush.

    2. Check the keyway slot and the threaded holes for damage.

    3. Measure the out-of-round at the middle of each rod and the main journal in two places. The difference between measurements on each journal must not be more than the service limit.

    Main Journal Diameter 

    Rod Journal Diameter 

    Journal Out-of-Round 

    4. Measure the taper at the edges of each rod and the main journal. The difference between measurements on each journal must not be more than the service limit.

    Journal Taper 

    Standard (New):  0.005 mm (0.00020 in) max. 
    Service Limit:  0.005 mm (0.00020 in) 
    Service Limit:  0.010 mm (0.00039 in) 
    Standard (New):  0.005 mm (0.00020 in) max. 
    Standard (New):  54.976-55.000 mm (2.16441-2.16535 in) 
    Standard (New):  71.976-72.000 mm (2.83370-2.83464 in) 
    GHH444280Courtesy of HONDA, U.S.A., INC.
    Straightness 

    5. Place the V-blocks on a flat surface.

    6. Check the total runout with the crankshaft supported on V-blocks.

    7. Measure the runout on all of the main journals. Rotate the crankshaft two complete revolutions. The difference between measurements on each journal must not be more than the service limit.

    Crankshaft Total Runout 

    Standard (New):  0.025 mm (0.00098 in) max. 
    Service Limit:  0.030 mm (0.00118 in) 

    Piston, Ring, Pin, and Connecting Rod Inspection 

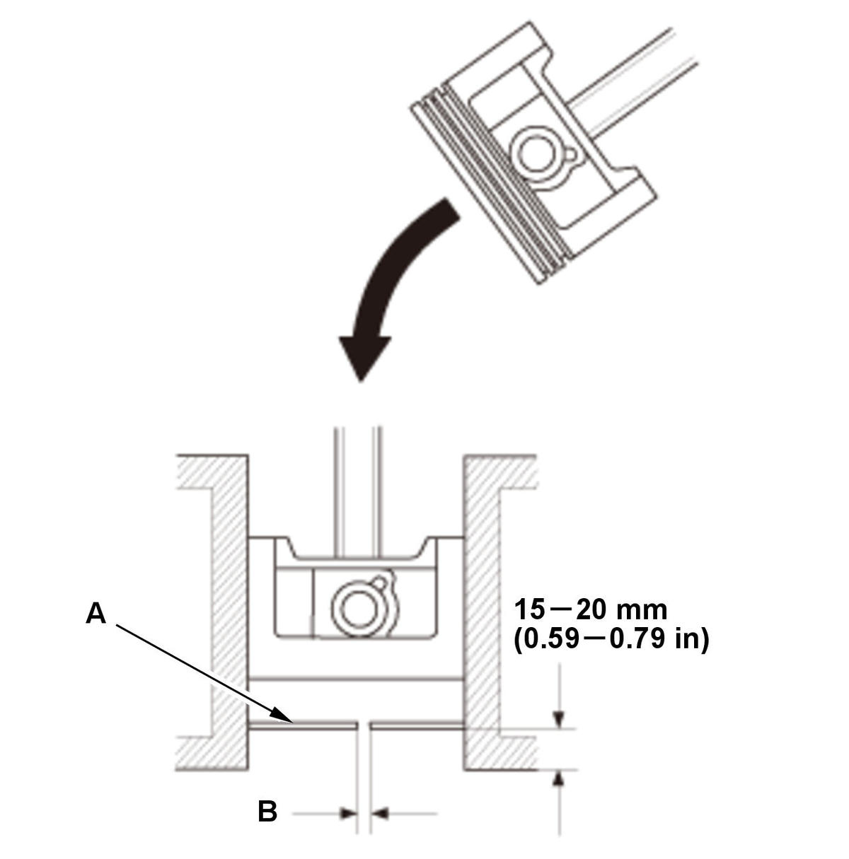
  10. Piston Ring End Gap - Inspect
    GHH444281Courtesy of HONDA, U.S.A., INC.
    1. Using a piston, push a new ring (A) into the cylinder bore 15-20 mm (0.59-0.79 in) from the bottom.

    2. Measure the piston ring end-gap (B) with a feeler gauge:

    • If the gap is too small, check to see if you have the proper rings for your engine.
    • If the gap is too large, recheck the cylinder bore diameter against the wear limits. If the bore is over the service limit, the engine block must be rebored.

    Piston Ring End-Gap 

    Service Limit:  0.8 mm (0.031 in) 
    Top Ring: 
    Standard (New):  0.20-0.35 mm (0.008-0.013 in) 
    Service Limit:  0.6 mm (0.023 in) 
    Second Ring: 
    Standard (New):  0.40-0.55 mm (0.016-0.021 in) 
    Service Limit:  0.7 mm (0.027 in) 
    Oil Ring: 
    Standard (New):  0.20-0.70 mm (0.008-0.027 in) 
  11. Piston Pin - Inspect
    GHH444282Courtesy of HONDA, U.S.A., INC.
    1. Measure the diameter of the piston pin.

    Piston Pin Diameter 

    Standard (New):  21.961-21.965 mm (0.86460-0.86476 in) 
    Service Limit:  21.954 mm (0.86433 in) 
    GHH444283Courtesy of HONDA, U.S.A., INC.
    2. Zero the dial indicator to the piston pin diameter.
    GHH444284Courtesy of HONDA, U.S.A., INC.
    3. Check the difference between the piston pin diameter and the piston pin hole diameter on the piston.

    Piston Pin-to-Piston Clearance 

    Standard (New):  -0.005-0.002 mm (-0.00020-0.00008 in) 
    Service Limit:  0.004 mm (0.00016 in) 
    GHH444285Courtesy of HONDA, U.S.A., INC.
    4. Measure the piston pin-to-connecting rod clearance.

    Piston Pin-to-Connecting Rod Clearance 

    5. Measure the connecting rod small end bore diameter.

    Connecting Rod Small End Bore Diameter 

    Standard (New):  21.970-21.976 mm (0.86496-0.86520 in) 
    Standard (New):  0.005-0.015 mm (0.00020-0.00059 in) 
    Service Limit:  0.019 mm (0.00075 in) 
  12. Piston Ring-to-Piston Ring Groove Clearance - Inspect
    GHH444286GHH444287Courtesy of HONDA, U.S.A., INC.HONDA, U.S.A., INC.
    GHH444286GHH444287Courtesy of HONDA, U.S.A., INC.HONDA, U.S.A., INC.
    1. After installing a new set of rings, measure the ring-to-groove clearance.

    Top Ring Clearance 

    Second Ring Clearance 

    Standard (New):  0.030-0.055 mm (0.002 in) 
    Service Limit:  0.13 mm (0.005 in) 
    Standard (New):  0.065-0.090 mm (0.003 in) 
    Service Limit:  0.15 mm (0.005 in) 

    Block and Piston Inspection 

  13. Block and Piston - Inspect
    GHH444288Courtesy of HONDA, U.S.A., INC.
    1. Check the pistons for distortion or cracks.

    2. Measure the piston skirt diameter at a point 16 mm (0.63 in) from the bottom of the skirt.

    Piston Skirt Diameter 

    Oversize Piston Skirt Diameter 

    0.25:  89.225-89.235 mm (3.51279-3.51318 in) 
    Standard (New):  88.975-88.985 mm (3.50295-3.50334 in) 
    Service Limit:  88.965 mm (3.50255 in) 
    GHH444289Courtesy of HONDA, U.S.A., INC.
    3. Measure the wear and taper in direction X and Y at three levels in each cylinder as shown. If measurements in any cylinder are beyond the oversize bore service limit or the cylinders are damaged, replace the engine block. If the engine block has to be rebored, refer to step 6 after reboring.

    Cylinder Bore Size 

    Oversize 

    Bore Taper 

    4. Hone any scored or scratched cylinder bores.

    Limit:  (Difference between first and third measurement) 0.025 mm (0.00098 in) 
    Reboring Limit:  0.25 mm (0.0098 in) 
    0.25:  89.250-89.265 mm (3.51377-3.51436 in) 
    Standard (New):  89.000-89.015 mm (3.50393-3.50452 in) 
    Service Limit:  89.065 mm (3.50649 in) 
    GHH444290Courtesy of HONDA, U.S.A., INC.
    5. Check the top of the engine block for warpage. Measure along the edges and across the center as shown.

    Engine Block Warpage 

    Standard (New):  0.07 mm (0.002 in) max. 
    GHH444291Courtesy of HONDA, U.S.A., INC.
    6. Calculate the difference between the cylinder bore diameter and the piston diameter. If the clearance is near or exceeds the service limit, inspect the piston and the cylinder bore for excessive wear.

    Piston-to-Cylinder Bore Clearance 

    Standard (New):  0.015-0.040 mm (0.00059-0.00157 in) 
    Service Limit:  0.08 mm (0.0031 in)