LEMON Manuals: Even more car manuals for everyone
Home >> Honda >> 2019 >> Fit EX, Standard Trans >> Repair and Diagnosis >> Engine Performance >> Engine Control Systems >> Engine Control System & Engine Mechanical - Service Information >> Removal & Installation >> PCM Removal and Installation >> Installation

PCM Removal and Installation: Installation

NOTE: 

  1. PCM - Install
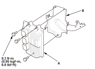
    GHH81360Courtesy of HONDA, U.S.A., INC.
    1. Install the PCM (A) onto the PCM bracket (B).
    GHH81361Courtesy of HONDA, U.S.A., INC.
    2. Install the PCM bracket (D) and the PCM (E)

    3. Connect PCM connectors A, B, and C.

    NOTE:  PCM connectors A, B, and C have symbols (A=□, B=Δ, C=◦) embossed on them for identification.

    GHH81362Courtesy of HONDA, U.S.A., INC.
    4. Install the PCM cover (A).
  2. SCS - Open
      1. Exit the SCS mode with the HDS.

    Procedure After Replacing PCM 

  3. VIN - Input
      1. Turn the vehicle to the ON mode.

    NOTE:  DTC P0630 VIN Not Programmed or Mismatch may be stored because the VIN has not been programmed into the PCM; ignore it, and continue this procedure

    2. Manually input the VIN to the PCM with the HDS.

  4. WRITE DATA (Engine Oil Life) - Select (USA and Canada Models)
      NOTE:  If the READ DATA (engine oil life) failed in "READ DATA (Engine Oil Life) - Select", skip this procedure.

    1. Select the REPLACE PCM MENU, then select WRITE DATA, and follow the screen prompts.

  5. Other Procedures for PCM Replacement - Do (USA and Canada Models)
      1. If the READ DATA (engine oil life) failed in "READ DATA (Engine Oil Life) - Select", replace the engine oil and the engine oil filter .
  6. IMMOBI SYSTEM - Registration
      1. Without keyless access system: Immobilizer-Keyless Control Unit - Register . With keyless access system: Keyless Access System - Register .
  7. DTC - Clear
      1. Clear the Pending or Confirmed DTCs with the HDS.
  8. PCM - Update
  9. PCM - Idle Learn
  10. CKP Pattern - Clear/Learn