Keyless Access/TPMS Control Unit Connector for Inputs and Outputs (2017 2018 2019)
| Connector Index |
|---|
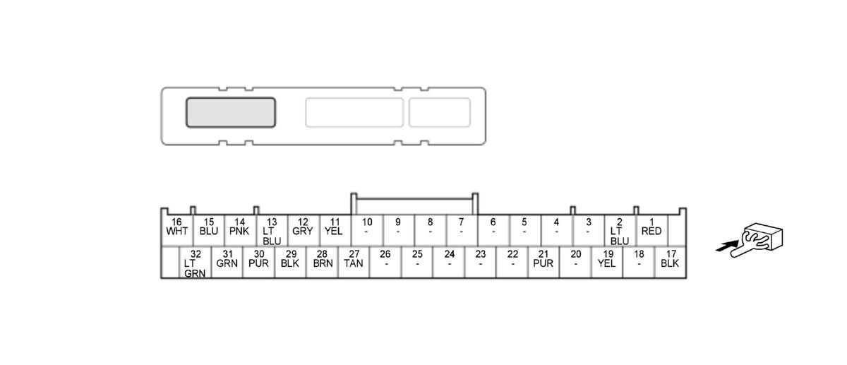
| KEYLESS ACCESS/TPMS CONTROL UNIT CONNECTOR A (32P) |
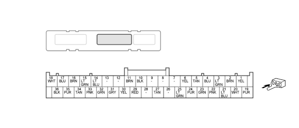
| KEYLESS ACCESS/TPMS CONTROL UNIT CONNECTOR B (36P) |
| KEYLESS ACCESS/TPMS CONTROL UNIT CONNECTOR C (20P) |
KEYLESS ACCESS/TPMS CONTROL UNIT CONNECTOR A (32P) (female terminals)
| Terminal number | Terminal name | Description | Signal |
|---|---|---|---|
| 1 | +B SMART | +B power source | About battery voltage at all times |
| 2 | KEY SW | Outputs KEY SW signal | With vehicle in OFF (LOCK) mode: about battery voltage With vehicle in ACCESSORY or ON mode: less than 0.2 V |
| 3 | --- | Not used | --- |
| 4 | --- | Not used | --- |
| 5 | --- | Not used | --- |
| 6 | --- | Not used | --- |
| 7 | --- | Not used | --- |
| 8 | --- | Not used | --- |
| 9 | --- | Not used | --- |
| 10 | --- | Not used | --- |
| 11 | RR INT LF+ | Detects rear interior LF antenna signal | --- |
| 12 | FR WHEEL LF+ | Detects right-front LF antenna/initiator signal | --- |
| 13 | FL WHEEL LF+ | Detects left-front LF antenna/initiator signal | --- |
| 14 | FR INT LF+ | Detects front interior LF antenna signal | --- |
| 15 | RR WHEEL LF+ | Detects right-rear LF antenna/initiator signal | --- |
| 16 | RL WHEEL LF+ | Detects left-rear LF antenna/initiator signal | --- |
| 17 | SGND | Keyless access/TPMS control unit ground | Less than 0.2 V at all times |
*: With keyless access function
| Terminal number | Terminal name | Description | Signal |
|---|---|---|---|
| 18 | --- | Not used | --- |
| 19* | VOUT FRDR | Drives driver's door outer handle touch sensor | --- |
| 20 | --- | Not used | --- |
| 21* | VOUT FRAS | Drives front passenger's door outer handle touch sensor | --- |
| 22 | --- | Not used | --- |
| 23 | --- | Not used | --- |
| 24 | --- | Not used | --- |
| 25 | --- | Not used | --- |
| 26 | --- | Not used | --- |
| 27 | RR INT LF- | Detects rear interior LF antenna signal | --- |
| 28 | FR WHEEL LF- | Detects right-front LF antenna/initiator signal | --- |
| 29 | FL WHEEL LF- | Detects left-front LF antenna/initiator signal | --- |
| 30 | FR INT LF- | Detects front interior LF antenna signal | --- |
| 31 | RR WHEEL LF- | Detects right-rear LF antenna/initiator signal | --- |
| 32 | RL WHEEL LF- | Detects left-rear LF antenna/initiator signal | --- |
*: With keyless access function
KEYLESS ACCESS/TPMS CONTROL UNIT CONNECTOR B (36P) (female terminals)
| Terminal number | Terminal name | Description | Signal |
|---|---|---|---|
| 1 | PARKING SW | Detects parking brake switch signal | With parking brake switch ON: less than 0.2 V With parking brake switch OFF: about battery voltage |
| 2* | ESL SW D | Detects electric steering lock (ESL SW D) signal | --- |
| 3* | ESL SW B | Detects electric steering lock (ESL SW B) signal | --- |
| 4* | ESL SW C | Detects electric steering lock (ESL SW C) signal | --- |
*: With electric steering lock
| Terminal number | Terminal name | Description | Signal |
|---|---|---|---|
| 5* | MTR CUT1 | Detects electric steering lock (MTR CUT1) signal | --- |
| 6* | MTR CUT2 | Detects electric steering lock (MTR CUT2) signal | --- |
| 7 | --- | Not used | --- |
| 8 | --- | Not used | --- |
| 9 | --- | Not used | --- |
| 10 | SS1+ | Detects engine start/stop switch (SS1+) signal | With engine start/stop switch pressed: about battery voltage |
| 11 | SS2- | Detects engine start/stop switch (SS2-) signal | --- |
| 12 | --- | Not used | --- |
| 13 | --- | Not used | --- |
| 14 | IG1 REM | Outputs engine remote start signal | With engine remote start operation: about battery voltage |
| 15 | ACC RLY CL | Drives ACC relay circuit | With vehicle in ACCESSORY or ON mode: about battery voltage |
| 16 | IG2 RLY CL | Drives IG2 relay circuit | With vehicle in ON mode: about battery voltage |
| 17 | IG1 RLY CL | Drives IG1A/B relay | With vehicle in ON mode: about battery voltage |
| 18 | +B BACKUP | +B power source | About battery voltage at all times |
| 19 | STOP SW | Detects brake pedal position switch signal | With brake pedal pressed: about battery voltage With brake pedal released: less than 0.2 V |
| 20 | DCK | Communication line | --- |
| 21 | DIN/DOUT | Communication line | --- |
| 22 | SW ILL2 | Detects engine start/stop switch illumination signal | About 0V-battery voltage (depending on engine start/stop switch illumination brightness) |
| 23 | SW ILL1 | Detects engine start/stop switch illumination signal | About 0V-battery voltage (depending on engine start/stop switch illumination brightness) |
| 24 | VCONT | Drives engine start/stop switch | --- |
| 25 | SSB GND | Ground for engine start/stop switch | Less than 0.2 V at all times |
| 26 | --- | Not used | --- |
| 27 | IG2-MAIN | IG2 power source | With vehicle in ON mode: about battery voltage |
| 28 | --- | Not used | --- |
| 29 | IG1B FBK | IG1 power source | With vehicle in ON mode: about battery voltage |
| 30 | IG1A FBK | IG1 power source | With vehicle in ON mode: about battery voltage |
| 31* | MTR CONT | Detects electric steering lock (MTR CONT) signal | --- |
| 32 | STS | Outputs engine starting signal | With engine starting request: about battery voltage |
| 33* | ESL PWR | Drives electric steering lock | With electric steering lock operation: about battery voltage |
| 34 | IG1 VSA | IG1 power source | With vehicle in ON or START mode: about battery voltage |
| 35 | SMART RLY GND | Ground for IG1A/B relay and IG2/ACC relay circuit | Less than 0.2 V at all times |
| 36 | SGND | Keyless access/TPMS control unit ground | Less than 0.2 V at all times |
*: With electric steering lock
KEYLESS ACCESS/TPMS CONTROL UNIT CONNECTOR C (20P) (female terminals)
| Terminal number | Terminal name | Description | Signal |
|---|---|---|---|
| 1 | B-CAN_H | Communication line | --- |
| 2 | F-CAN_H | Communication line | --- |
| 3* 1 | IGN TRX | Communication line | --- |
| 4 | K-LINE | Communication line | --- |
| 5 | S-NET | Communication line | --- |
| 6 | L-LINE | Communication line | --- |
| 7 | --- | Not used | --- |
| 8 | --- | Not used | --- |
| 9 | P-PIN SW | Detects park pin switch signal | With P position/mode: less than 0.2 V With select lever knob switch pressed or without P position/mode: about battery voltage |
| 10 | ATP-P | Detects transmission range switch (P) signal | With P position/mode: less than 0.2 V Without P position/mode: about battery voltage |
| 11 | B-CAN_L | Communication line | --- |
| 12 | F-CAN_L | Communication line | --- |
| 13* 2 | DL FRAS | Detects front passenger's door outer handle lock switch signal | --- |
| 14* 2 | DL FRDR | Detects driver's door outer handle lock switch signal | --- |
| 15* 2 | TS FRDR | Detects driver's door outer handle touch sensor signal | --- |
| 16 | TRUNK HANDLE SW | Detects in-bed trunk lid outer handle switch signal | --- |
| 17* 2 | TS FRAS | Detects front passenger's door outer handle touch sensor signal | --- |
| 18 | --- | Not used | --- |
| 19 | --- | Not used | --- |
| 20 | --- | Not used | --- |
*1: With electric steering lock
*2: With keyless access function