LEMON Manuals: Even more car manuals for everyone
Home >> Honda >> 2017 >> Ridgeline RTL, AWD >> Repair and Diagnosis >> Accessories & Equipment >> Anti-Theft Systems >> Security System / Keyless Entry System - Testing & Troubleshooting >> Description & Operation >> Keyless Access System Description

Keyless Access System Description

Smart Entry Function 

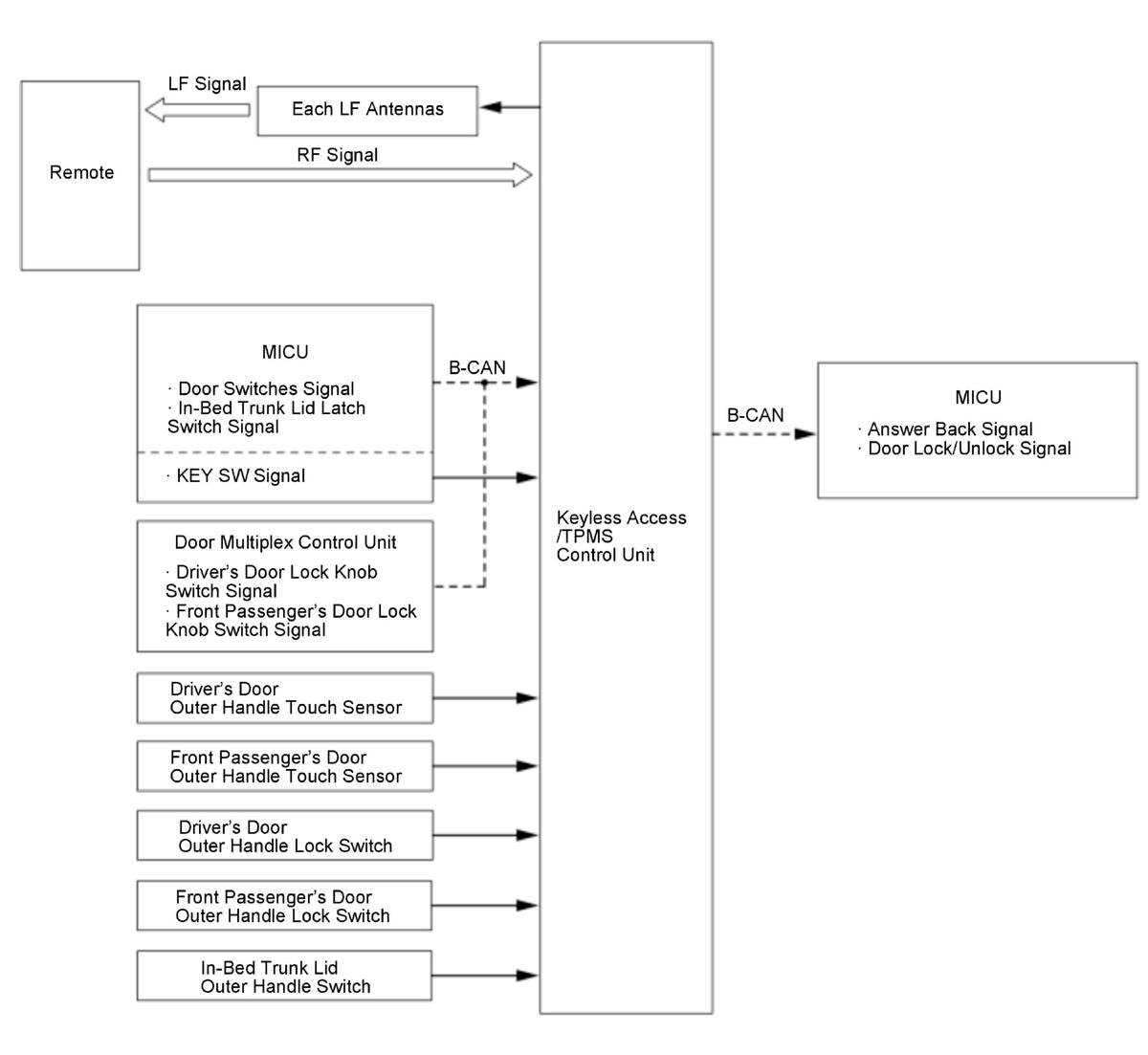
The keyless access/TPMS control unit detects the input signal of the door outer handle touch sensors, the door outer handle lock switches, and the in-bed trunk lid outer handle switch, and authenticates 2-way communication with the remote. The keyless access/TPMS control unit sends then a door lock/unlock signal and an answer back signal to the MICU via the B-CAN.

Refer to the symptom troubleshooting information for the pattern of indicator and the checking method of the system.

GHH459855Courtesy of HONDA, U.S.A., INC.

Smart Entry Answer Back (Lock) 

When the MICU receives a lock signal, it sends a signal once to the turn signal lights and keyless buzzer sounds.

GHH459856Courtesy of HONDA, U.S.A., INC.

Smart Entry Answer Back (Unlock) 

When the MICU receives an unlock signal, it sends a signal two times to the turn signal lights and keyless buzzer sounds.

GHH459857Courtesy of HONDA, U.S.A., INC.

Keyless Entry Function 

The keyless access/TPMS control unit receives keyless transmitter signal from the remote, and authenticates the RF signal. Then the keyless access/TPMS control unit then sends a door lock/unlock signal to the MICU via the B-CAN.

GHH459858Courtesy of HONDA, U.S.A., INC.

Remote Search Function 

Determines if the remote is present inside the vehicle during operation.

Lighting and Indicator Function 

The keyless access/TPMS control unit controls the engine start/stop switch indicator, displays information in the multi-information display (MID), and illuminates the keyless access indicators in the gauge control module.

Backup Communication Function 

When key authentication between the remote and the keyless access/TPMS control unit is not possible because of a system abnormality or a drop of the battery voltage of the remote, the immobilizer function can be canceled by pressing the engine start/stop switch button once and bringing the remote close to the engine start/stop switch while the engine start/stop switch indicator is flashing. This causes the built-in immobilizer receiver of the engine start/stop switch to receive the immobilizer signal and to send the immobilizer signal to the keyless access/TPMS control unit.

GHH459859Courtesy of HONDA, U.S.A., INC.

Remote Engine Start System 

Start The Engine 

The remote engine start feature is initiated by first pressing the lock button, then pressing and holding the REMOTE ENGINE START button within 5 seconds on the remote transmitter.

An RF signal from the remote transmitter is received by the keyless access/TPMS control unit, which then sends the request to start the engine to the PCM. At the same time, the keyless access/TPMS control unit authenticates the key for the immobilizer system.

The PCM starts the engine and sends feedback to the keyless access/TPMS control unit indicating the status of the engine.

The keyless access/TPMS control unit disables the headlights and windshield wipers via B-CAN and an IG1 REM signal to the MICU. The keyless access/TPMS control unit also disables the power windows, door locks and the gauge control module illumination by sending a signal over the B-CAN to all related control units.

Remote Engine Start Link 

When the engine is started by the remote, the climate control unit and the power seat control unit are activated through the keyless access/TPMS control unit via B-CAN. The climate control then unit activates the ventilated seat control unit, the heated windshield wiper area system, and the rear window and power mirror defoggers via the B-CAN.

Key Lockout Prevent Function 

The keyless access/TPMS control unit monitors whether or not there is the remote in the vehicle. If the remote is in the vehicle, the system will not lock the doors and the in-bed trunk lid. If the driver manually locks and closes the doors with the remote in the vehicle, the MICU energizes the driver's door lock actuator and unlocks the driver's door.

GHH459860Courtesy of HONDA, U.S.A., INC.

Electric Steering Lock (With electric steering lock) 

The electric steering lock control unit is built into the electric steering lock and controls the steering lock motor. When the remote code is identified, the electric steering lock control unit unlocks the steering lock by controlling the steering lock motor.

GHH459861Courtesy of HONDA, U.S.A., INC.

Immobilizer Function 

The immobilizer function uses the GEN 5/GEN 6 protocol, and the immobilizer function is deactivated by mutual communication between the keyless access/TPMS control unit, the PCM, and the MICU via the S-NET.

Alarm Function 

Detects if the door is opened or closed while the vehicle is in the ACCESSORY/ON mode. When the remote is taken out of the vehicle, the keyless buzzer will sound and the multi-information display (MID) (Only when the vehicle is the ON mode) will show a warning. Before the remote battery level falls to the point where the remote cannot be detected, the multi-information display (MID) will show a warning and an alarm will sound. The multi-information display (MID) will also show a warning that indicates shifting to P position.

Registration Facility 

The keyless access/TPMS control unit can store up to 6 remotes using the HDS.

Fault Diagnosis Function 

The system has a fault diagnosis function. If any malfunction occurs, the keyless access indicator comes on in the gauge control module.

Customer Emergency 

When the engine start/stop switch is pressed quickly 2 times or held for 1.5 seconds in an emergency while driving, the engine turns off, and the vehicle mode switches to the ACCESSORY mode. In this mode, the steering wheel remains unlocked.

Panic Function 

When you press the PANIC button on the remote, the keyless access/TPMS control unit sends a signal to the MICU via the B-CAN to sound the horn and activate the exterior lights.

Walk Away Auto Lock Function (If Equipped) 

The walk away auto lock system detects where the remote is and locks all doors and the tailgate (if equipped) on the vehicle when all the doors and tailgate are closed and the remote is outside of the vehicle and out of the range.

To operate the walk away auto lock system, it is necessary to enter the auto lock mode.

To enter the auto lock mode, all of the following conditions must be met:

The vehicle's buzzer beeps once to confirm that the auto lock mode is engaged.

When the remote is carried is carried beyond 7 ft (2 m) from the vehicle and remains outside of this range for more than 2 seconds, the system engages and locks all of the doors including the tailgate (if equipped). At that time, the keyless buzzer sounds and some exterior lights will flash. However, if the remote remains within 7 ft (2 m) from the vehicle for 30 seconds or more after entering the auto lock mode, the doors and tailgate will automatically lock.

The system does not work under the following conditions:

The walk away auto lick system can be cancelled temporarily by customization.

Failsafe Function 

If there is a failure in the keyless access system that terminates the keyless access features, the system enters the failsafe mode and the keyless access indicator flashes.