LEMON Manuals: Even more car manuals for everyone
Home >> Honda >> 2017 >> Odyssey SE >> Repair and Diagnosis >> External Pages >> Different car >> Section 20 (Security System / Keyless Entry System - Testing & Troubleshooting) >> Test >> Door Outer Handle Lock Switch Test >> Test

Door Outer Handle Lock Switch Test: Test

WARNING: This page does not describe the selected car, but rather 8 other vehicles, including the 2025 Honda Odyssey, 2024 Honda Odyssey, 2023 Honda Odyssey, 2022 Honda Odyssey, and 2021 Honda Odyssey. However, it is still accessible from the selected car via links, so may be relevant.

NOTE:  The front door outer handle lock switch is built into the front door outer handle.

  1. Front Door Panel - Remove
  2. Front Door Panel Barrier B - Remove

    NOTE:  When removing the front door barrier B, you do not need to remove the front door outer handle.

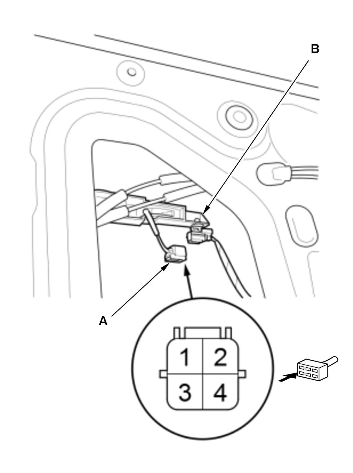
  3. Front Door Outer Handle Lock Switch - Test
    GHH447548GHH447549Courtesy of HONDA, U.S.A., INC.HONDA, U.S.A., INC.
    GHH447548GHH447549Courtesy of HONDA, U.S.A., INC.HONDA, U.S.A., INC.
    1. Disconnect the connector (A).

    2. Check for continuity between the terminals in each switch position according to the table.

    3. If the continuity is not as specified, the front door outer handle lock switch is faulty; replace the front door outer handle (B).

  4. All Removed Parts - Install
    1. Install the parts in the reverse order of removal.