LEMON Manuals: Even more car manuals for everyone
Home >> Honda >> 2016 >> Pilot EX, AWD >> Repair and Diagnosis >> Engine Performance >> Engine Control Systems >> Engine Control System / Engine Mechanical - Service, Testing & Troubleshooting >> System Description >> Auto Idle Stop (2016 2017 2018) >> Control >> At restart

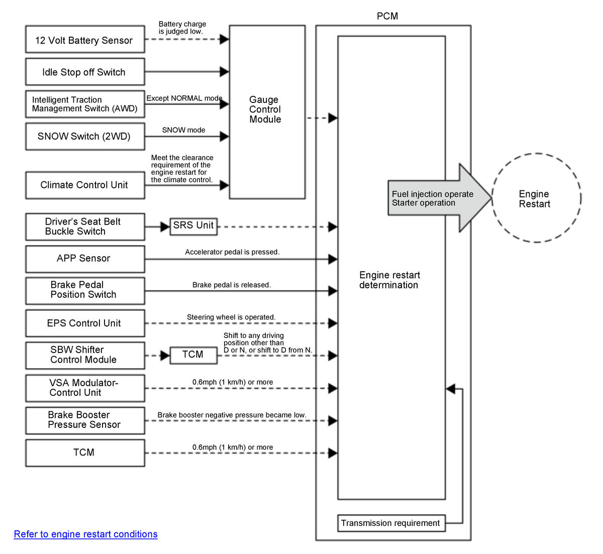
At restart

When the vehicle speed condition is met and the brake pedal is pressed, the engine stops automatically. Release the brake pedal to restart the engine.

The PCM determines engine restarting by signals from each unit, sensor, and switch. According to the signal, the PCM restarts the engine by resuming fuel injection and driving the starter motor.

GHH308285Courtesy of HONDA, U.S.A., INC.