LEMON Manuals: Even more car manuals for everyone
Home >> Honda >> 2016 >> CR-V SE, AWD >> Repair and Diagnosis >> Engine Performance >> Engine Control Systems >> Engine Control System & Engine Mechanical - Testing & Troubleshooting >> Description >> VTEC/VTC System Description - VTEC

VTEC/VTC System Description - VTEC

Overview 

This system improves fuel efficiency and reduces exhaust emissions at all engine speeds, vehicle speeds, and engine loads. The powertrain control module (PCM) switches the low and high lift cam depending on the engine speed and load in order to optimize the fuel efficiency and the engine output. The rocker arm oil control solenoid switches the intake valve side of the VTEC system on and off; the solenoid is controlled by the PCM.

Valve Timing Operation Image 

GHH49159Courtesy of HONDA, U.S.A., INC.

Construction 

VTEC is composed of the VTEC camshaft, the VTEC rocker arm, and the rocker arm oil control valve.

VTEC Camshaft 

The intake camshaft is structured so that each cylinder has a separate low lift cam lobe and a high lift cam lobe.

GHH49160Courtesy of HONDA, U.S.A., INC.

VTEC Rocker Arm 

The intake rocker arm is composed of the primary, the medium, and the secondary rocker arms. The inner side of the intake primary rocker arm and the intake medium rocker arm have a VTEC switching piston in each rocker arm. The inner side of the intake secondary rocker arm has a stopper piston and a return spring.

GHH49161Courtesy of HONDA, U.S.A., INC.

Rocker Arm Oil Control Valve 

The rocker arm oil control valve is integrated with the rocker arm oil control solenoid and the valve, it is installed on the cylinder head. When the rocker arm oil control solenoid turns on or off depending on a signal from the PCM, the hydraulic pressure subjects the valve to an ON/OFF control. By switching the ON/OFF of the valve, the hydraulic pressure applied to the VTEC switching piston in the rocker arms is controlled.

GHH49162Courtesy of HONDA, U.S.A., INC.

Rocker Arm Oil Pressure Switch (USA and Canada models) 

The rocker arm oil pressure switch is attached to the rocker arm oil control valve. It monitors the hydraulic pressure condition, and the statuses of the rocker arm oil control solenoid and the rocker arm oil control valve.

GHH49163Courtesy of HONDA, U.S.A., INC.

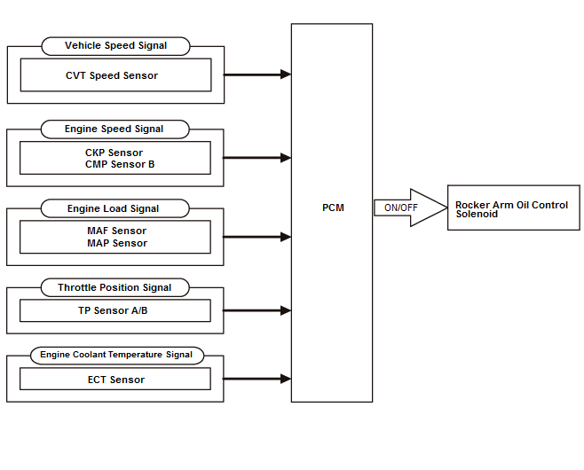
Control 

Based on the vehicle speed signal, engine speed signal, engine load signal, throttle position signal, and engine coolant signal sent from various sensors, the PCM determines the lift amount and controls the ON/OFF of the rocker arm oil control solenoid. The PCM generates and determines the control amount based on signals from various sensors to subject the rocker arm oil control solenoid to a feedback control.

GHH49164Courtesy of HONDA, U.S.A., INC.

Operation 

At Low Engine Speed 

At low engine speed, the rocker arm oil control solenoid is turned off by the PCM. Oil pressure from the rocker arm oil control valve does not enter the intake rocker shaft. The primary and the secondary intake rocker arms are lifted by the low lift cam lobe.

Rocker Arm Oil Control Solenoid OFF 

GHH49165Courtesy of HONDA, U.S.A., INC.

At High Engine Speed/High Load Operation 

At high engine speed, the rocker arm oil control solenoid is turned on by the PCM. Oil pressure from the rocker arm oil control solenoid enters the intake primary rocker arm via the intake rocker shaft, and it moves the VTEC switching piston in the rocker arm. This causes the VTEC switching piston to slide into the intake medium rocker arm, locking the intake secondary and medium rocker arms together. Both intake rocker arms are lifted by the high lift cam lobe.

Rocker Arm Oil Control Solenoid ON 

GHH49166Courtesy of HONDA, U.S.A., INC.