LEMON Manuals: Even more car manuals for everyone
Home >> Honda >> 2015 >> Fit EX, Standard Trans >> Repair and Diagnosis >> Engine Performance >> Engine Control Systems >> Engine Control System & Engine Mechanical - Testing & Troubleshooting >> Description >> VTEC / VTC System Description - VTC

VTEC / VTC System Description - VTC

Overview 

The VTC system makes continuous intake valve timing changes based on operating conditions. Intake valve timing is optimized to allow the engine to produce maximum power. Cam angle is advanced to obtain the EGR effect and reduce pumping loss. The intake valve is closed quickly to reduce the entry of the air/fuel mixture into the intake port and improve the charging effect. The system reduces the cam advance at idle, stabilizes combustion, and reduces engine speed. If a malfunction occurs on the VTEC system, the VTC system control is disabled and the valve timing is fixed at the fully retarded position.

GHH81049Courtesy of HONDA, U.S.A., INC.

Construction 

VTC Actuator 

The VTC actuator is composed of the vane, the rock pin, the spring, and the housing with the timing gear. It is installed at the end of the intake camshaft. When the VTC actuator vanes rotate to advance or retard position, the intake camshaft timing is changed.

GHH81050Courtesy of HONDA, U.S.A., INC.

When the engine stops, the vane is fastened at the fully retard position by the lock pin so that the engine will start smoothly next time. After the engine starts, the vane turns to be free because the lock pin is set back against the spring tension by the oil pressure.

GHH81051Courtesy of HONDA, U.S.A., INC.

VTC Oil Control Solenoid Valve 

The VTC oil control solenoid valve controls oil pressure to the advance chamber/retard chamber of the VTC actuator according to a signal from the PCM. The CMP sensor detects the intake camshaft angle and sends the information to the PCM. The PCM controls the VTC oil control solenoid valve as the intake camshaft angle changes.

GHH81052Courtesy of HONDA, U.S.A., INC.

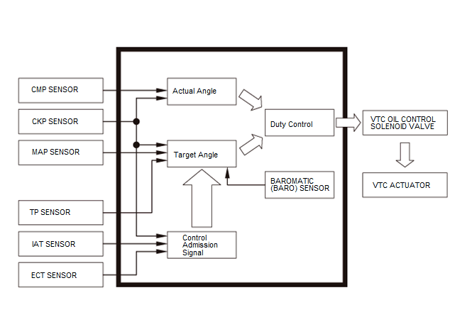
Control 

The VTC system diagram is as follows. The PCM advances or retards the valve timing based on the data from various sensors, and performs feedback-control to the VTC oil control solenoid valve.

GHH81053Courtesy of HONDA, U.S.A., INC.

Operation 

Advance Rotation Operation 

When the advance chamber is charged with the pressured oil from the VTC oil control solenoid valve, the intake camshaft rotates to advanced side.

GHH81054Courtesy of HONDA, U.S.A., INC.

Retard Rotation Operation 

When the retard chamber is charged with the pressured oil from the VTC oil control solenoid valve, the intake camshaft rotates to retarded side.

GHH81055Courtesy of HONDA, U.S.A., INC.