LEMON Manuals: Even more car manuals for everyone
Home >> Honda >> 2014 >> Accord Plug-In >> Repair and Diagnosis (Single Page) >> Body & Frame >> Door Locks >> Keyless Entry / Power Door Locks / Security System - Service, Testing & Troubleshooting (Hybrid) >> Description >> Keyless Access System Description - System Diagram (2014)

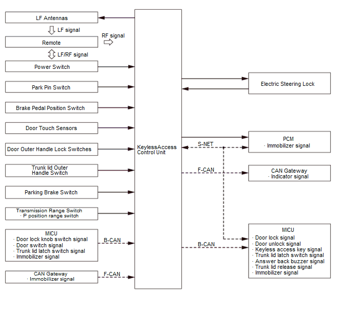
Keyless Access System Description - System Diagram (2014)

GHH262326Courtesy of HONDA, U.S.A., INC.