LEMON Manuals: Even more car manuals for everyone
Home >> Honda >> 2012 >> Insight Base >> Repair and Diagnosis >> Transmission >> Automatic Trans >> CVT >> Transmission Range Switch Replacement

Transmission Range Switch Replacement

  1. Apply the parking brake, move the shift lever to N.
  2. Remove the air cleaner (see AIR CLEANER REMOVAL/INSTALLATION ).
  3. Disconnect the transmission range switch 8P connector (A), and remove the control shaft cover (B).
    Fig 1: Identifying Transmission Range Switch 8P Connector And Control Shaft Cover
    G08093309Courtesy of AMERICAN HONDA MOTOR CO., INC.
  4. Remove the transmission range switch (C).
  5. Make sure the selector control shaft is in the N position. If necessary, move the shift lever from P to N.
    NOTE: Do not use the selector control shaft to adjust the shift position. If the selector control shaft tips are squeezed together it will cause a faulty signal or position due to play between the selector control shaft and the transmission range switch.
    Fig 2: Identifying Selector Control Shaft In N Position
    G08093310Courtesy of AMERICAN HONDA MOTOR CO., INC.
  6. Set a new transmission range switch (A) to the N position, align the cutouts (B) on the rotary-frame with the neutral positioning cutouts (C) on the transmission range switch. Then put a 2.0 mm (0.08 in) feeler gauge blade (D) in the cutouts to hold the transmission range switch in the N position.
    NOTE: Be sure to use a 2.0 mm (0.08 in) feeler gauge blade or equivalent to hold the transmission range switch in the N position.
    Fig 3: Aligning Cutouts On Rotary-Frame With Neutral Positioning Cutouts On Transmission Range Switch
    G08093311Courtesy of AMERICAN HONDA MOTOR CO., INC.
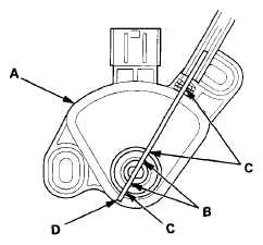
  7. Install the transmission range switch (A) gently on the selector control shaft (B) while holding it in the N position with the 2.0 mm (0.08 in) feeler gauge blade (C).
    Fig 4: Installing Transmission Range Switch On Selector Control Shaft
    G08093312Courtesy of AMERICAN HONDA MOTOR CO., INC.
  8. Tighten the bolts (A) on the transmission range switch while you continue to hold the N position. Do not move the transmission range switch when tightening the bolts. Remove the feeler gauge (B).
    Fig 5: Bolts On Transmission Range Switch With Torque Specifications
    G08093313Courtesy of AMERICAN HONDA MOTOR CO., INC.
  9. Install the selector control shaft cover (A) on the transmission range switch (B).
    Fig 6: Identifying Selector Control Shaft Cover On Transmission Range Switch
    G08093314Courtesy of AMERICAN HONDA MOTOR CO., INC.
  10. Check the connector for rust, dirt, or oil, clean or repair if necessary, then connect the transmission range switch 8P connector (C) securely.
  11. Turn the ignition switch to ON (II). Move the shift lever through all positions, and check the transmission range switch synchronization with the A/T gear position indicator.
  12. Check that the engine will start with the shift lever in P and N, and will not start in any other shift lever position.
  13. Check that the back-up lights come on when the shift lever is in R.
  14. Raise the vehicle on a lift, or apply the parking brake, block the rear wheels, and raise the front of the vehicle. Make sure it is securely supported.
  15. Allow the front wheels to rotate freely, then start the engine, and check the shift lever operation.
  16. Install the air cleaner (see AIR CLEANER REMOVAL/INSTALLATION ).