LEMON Manuals: Even more car manuals for everyone
Home >> Honda >> 2012 >> Insight Base >> Repair and Diagnosis (Single Page) >> Brakes >> Traction Control >> VSA System Components >> System Description >> Modulator Unit

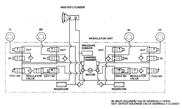
Modulator Unit

The modulator unit consists of the inlet solenoid valve, the outlet solenoid valve, the TCS NO (normally open) solenoid valve, the ESV NC (normally closed) solenoid valve, the reservoir, the pump, and the pump motor.

The hydraulic control has three modes of ABS action; pressure intensifying, pressure retaining, and pressure reducing. Pressure intensifying (VSA) mode is combined of the TCS, VSA, CAS, HSA and brake assist action.

The hydraulic circuit is an independent four channel type; one channel for each wheel.

Fig 1: Modulator Unit Circuit Diagram
G08093823Courtesy of AMERICAN HONDA MOTOR CO., INC.
Mode TCS NO Valve ESV NC Valve Inlet Solenoid Valve Outlet Solenoid Valve Brake Fluid
Pressure intensifying mode  open closed open closed Master cylinder fluid is pumped out to the caliper.
Pressure retaining mode  open closed closed closed Caliper fluid is retained by the inlet and outlet valves.
Pressure reducing mode  open closed closed open
  • Caliper fluid flows through the outlet valve to the reservoir.
  • The motor pumps the reservoir fluid through the damping chamber to the master cylinder(1).
Pressure adding mode  closed open open closed
  • Master cylinder fluid is pumped out by the pump through the ESV NC valve to the caliper.
  • Caliper fluid pressure exceeds master cylinder pressure.
(1) The motor will continue running until the operation of the one anti-lock brake control is finished with the first pressure reducing mode.