LEMON Manuals: Even more car manuals for everyone
Home >> Honda >> 2012 >> Fit Base, Automatic Trans >> Repair and Diagnosis >> External Pages >> Different car >> Section 2 (Navigation System) >> System Description >> Navigation Function >> Function Diagram

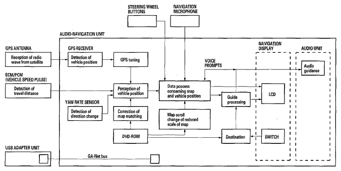
Function Diagram

WARNING: This page is about a different car, the 2011 Honda Fit, 2010 Honda Fit, and 2009 Honda Fit. However, it is still accessible from the selected car via links, so may be relevant.
Fig 1: Identifying Navigation Function Diagram
G05960287Courtesy of AMERICAN HONDA MOTOR CO., INC.