LEMON Manuals: Even more car manuals for everyone
Home >> Honda >> 2012 >> Fit Base, Automatic Trans >> Repair and Diagnosis (Single Page) >> Electrical >> Body Electrical >> Fuse/Relay Boxes >> Connector To Fuse/Relay Box Index >> Under-Dash Fuse/Relay Box

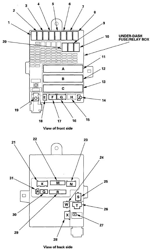
Under-Dash Fuse/Relay Box

Under-Dash Fuse/Relay Box 

Fig 1: Identifying Under-Dash Fuse/Relay Box Components
G05959912Courtesy of AMERICAN HONDA MOTOR CO., INC.
UNDER-DASH FUSE/RELAY BOX TABLE

Socket Ref Terminal Connects to
(1)
A 11 36 Right engine compartment wire harness
A/F sensor relay 3 4 -
B 12 36 Left engine compartment wire harness
Blower motor relay 2 4 -
C 13 49 Floor wire harness
E 18 12 Driver's door wire harness
Electronic throttle control system (ETCS) control relay 7 4 -
F 17 6 Driver's door wire harness
G 16 8 Roof wire harness
H (optional connector) 15 8 Not used
Ignition coil relay 5 4 -
J (MICU service check connector) 14 3 -
K 21 10 Dashboard wire harness
Lighting relay 4 4 -
Driver's door unlock relay 20 5 -
M 22 34 Dashboard wire harness
N 23 8 Dashboard wire harness
P (SRS) 31 4 Dashboard wire harness
PGM-FI main relay 1 (FI MAIN) 6 4 -
PGM-FI main relay 2 (FUEL PUMP) 10 4 -
Power window relay (P/W) 1 4 -
Q 30 16 Dashboard wire harness
R 29 28 Dashboard wire harness
Rear window defogger relay 8 4 -
S 25 3 Dashboard wire harness
Starter cut relay (ST CUT) 9 4 -
T 26 2 Dashboard wire harness
W 24 1 Dashboard wire harness
X 28 3 Dashboard wire harness
Y (Electrical load detector (ELD)) 27 3 Dashboard wire harness
T9 19 - Left engine compartment wire harness
(1) Refer to appropriate table and harness illustration in CONNECTOR TO HARNESS INDEX article.