LEMON Manuals: Even more car manuals for everyone
Home >> Honda >> 2012 >> Fit Base, Automatic Trans >> Repair and Diagnosis (Single Page) >> Electrical >> Body Electrical >> Fuse/Relay Boxes >> Connector To Fuse/Relay Box Index >> Battery Terminal Fuse Box

Battery Terminal Fuse Box

Battery Terminal Fuse Box 

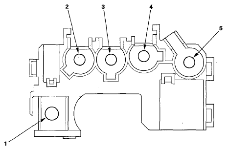
Fig 1: Identifying Connector, Fuse, & Relay Box Components
G05959911Courtesy of AMERICAN HONDA MOTOR CO., INC.
BATTERY TERMINAL FUSE BOX TABLE

Socket Ref Terminal Connects to
(1)
T1 1 - Battery terminal, Starter
T2 2 - Engine wire harness
T3 3 - Left engine compartment wire harness
T4 4 - Left engine compartment wire harness
T5 5 - Left engine compartment wire harness
(1) Refer to appropriate table and harness illustration in CONNECTOR TO HARNESS INDEX article.