LEMON Manuals: Even more car manuals for everyone
Home >> Honda >> 2012 >> Fit Base, Automatic Trans >> Repair and Diagnosis (Single Page) >> Accessories & Equipment >> Communication Devices >> Multiplex Integrated Control System >> System Description >> Self-Diagnostic Function

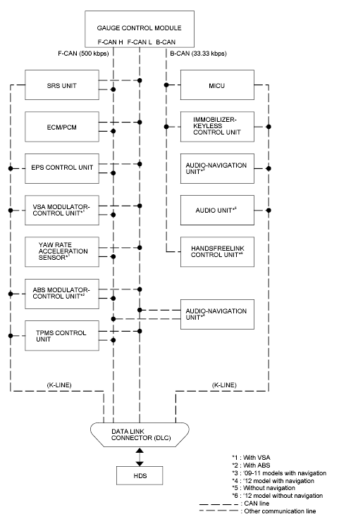
Self-Diagnostic Function

By connecting the HDS to the data link connector (DLC), the HDS can retrieve the diagnostic information from the MICU via a diagnostic line called K-LINE. The K-LINE is separate from the CAN lines, and is connected to the CAN related ECUs. The MICU is a gateway between the HDS and B-CAN related ECUs, and it sends B-CAN diagnostic information to the HDS. When doing a function test with the HDS, the HDS sends an output signal through the K-LINE to the MICU. The MICU either relays the request to another ECU or commands the function itself.

Fig 1: Identifying Self-Diagnostic Function Diagram
G05959933Courtesy of AMERICAN HONDA MOTOR CO., INC.