LEMON Manuals: Even more car manuals for everyone
Home >> Honda >> 2011 >> Insight Base >> Repair and Diagnosis >> Brakes >> Traction Control >> Abs Components >> System Description >> ABS (Anti-lock Brake System) Features >> Main Control

Main Control

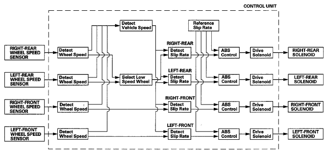
The control unit detects the wheel speed based on the wheel speed sensor signals it receives, then it calculates the vehicle speed based on the detected wheel speed. The control unit detects the vehicle speed during deceleration based on the wheel speeds.

The control unit calculates the slip rate of each wheel, and transmits the control signal to the modulator unit solenoid valve when the slip rate is high.

The hydraulic control has three modes: Pressure retaining, pressure reducing, and pressure intensifying.

Fig 1: Main Control Circuit Diagram
G06430780Courtesy of AMERICAN HONDA MOTOR CO., INC.