LEMON Manuals: Even more car manuals for everyone
Home >> Honda >> 2009 >> Pilot EX, 3.5 4 >> Repair and Diagnosis >> Body & Frame >> Windows >> Power Windows >> Front Passenger's Power Window Switch Input Test

Front Passenger's Power Window Switch Input Test

  1. Turn the ignition switch to LOCK (0), and remove the front passenger's power window switch (see FRONT PASSENGER'S POWER WINDOW SWITCH REPLACEMENT  ).
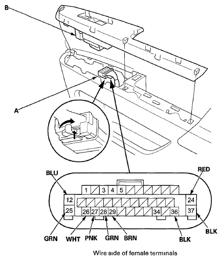
  2. Disconnect the 37P connector (A) from the front passenger's power window switch (B).
    Fig 1: Identifying 37P Connector & Front Passenger's Power Window Switch
    G05966376Courtesy of AMERICAN HONDA MOTOR CO., INC.
  3. Inspect the connector and socket terminals to be sure they are all making good contact.
    • If the terminals are bent, loose or corroded, repair them as necessary and recheck the system.
    • If the terminals look OK, go to step  4.
  4. With the connector still disconnected, do these input tests at the following connector.
    • If any test indicates a problem, find and correct the cause, then recheck the system.
    • If all the input tests prove OK, go to step  5.
    TEST CONDITION TABLE

    Cavity Wire Test condition Test: Desired result Possible cause if desired result is not obtained
    12 BLU Under all conditions, connect terminals No. 25 and No. 24 (or No. 12), and terminals No. 37 and No. 12 (or No. 24) with jumper wires. Check front passenger's power window motor operation:
    The driver's power window should open (or close).
    • Poor ground (G404) or an open int he ground wire
    • Faulty front passenger's power window motor
    • An open or high resistance in the wire
    24 RED
    29 BRN Under all conditions, disconnect the power window master switch 37P connector Check for continuity between terminal No. 29 and the power window master switch 37P connector terminal No. 27:
    There Should be continuity.
    An open in the UART wire
  5. Reconnect the connector to the front passenger's power window switch, turn the ignition switch to ON (II), and do these input tests.
    NOTE: With the front passenger's power window AUTO UP/AUTO DOWN function, RESETTING THE POWER WINDOW CONTROL UNIT  .
    TEST CONDITION TABLE

    Cavity Wire Test condition Test: Desired result Possible cause if desired result is not obtained
    37 BLK Under all conditions Measure the voltage to ground:
    There should be less than 0.2 V.
    • Poor ground (G404)
    • An open or hight resistance in the ground wire
    25 GRN Under all conditions Measure the voltage to ground:
    There should be battery voltage.
    • Blown No. 4 (P/W) (40 A) fuse in the under-hood fuse/relay box
    • Blown No. 30 (20 A) fuse in the under-dash fuse/relay box
    • Faulty under-dash fuse/relay box
    • Faulty under-hood fuse/relay box
    • An open or high resistance in the wires
    26 WHT Ignition switch ON (II) Measure the voltage to ground:
    There should be battery voltage.
    • Faulty front passenger's power window switch
    • A short to ground in the wire
    27 PNK Ignition switch ON (II), and the front passenger's power window moving up or down. Measure the voltage between terminals No. 27 and No. 37:
    An analog between should 0 V & about 5 V (a digital voltmeter should read about 2.5 V while the window moves).
    • Faulty front passenger's power window switch
    • Faulty front passenger's power window motor
    • An open or high resistance in the wire
    • A short to ground in the wire
    • Short to ground in the wire
    • Poor ground (G404) or an open in the ground wire
    28 GRN Ignition switch ON (II), and the front passenger's power window moving up or down. Measure the voltage between terminals No. 28 and No. 35:
    An analog meter should alternate between 0 V and about 5 V (a digital voltmeter should read about 2.5 V while the window moves).
    • Faulty front passenger's power window switch
    • Faulty front passenger's power window motor
    • An open or high resistance in the wire
    • A short to ground in the wire
    • Poor ground (G404) or an open in the ground wire
    36 BLK Under all conditions, disconnect the front passenger's power window motor 6P connector. Check for continuity to ground:
    There should be continuity.
    • Poor ground (G404)
    • An open or high resistance in the wire