LEMON Manuals: Even more car manuals for everyone
Home >> Honda >> 2007 >> Odyssey EX >> Repair and Diagnosis >> Body & Frame >> Windows >> Power Windows >> Power Window Master Switch Replacement

Power Window Master Switch Replacement

  1. Remove the driver's door panel (see FRONT DOOR PANEL REMOVAL/INSTALLATION ).
  2. Remove the screw and disconnect the 23P connector (A) and 13P connector (B) from the master switch panel (C), then remove the switch assembly from the door panel.
    Fig 1: Identifying 23P Connector, 13P Connector And Master Switch Panel
    G05526692Courtesy of AMERICAN HONDA MOTOR CO., INC.
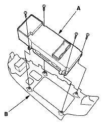
  3. Remove the four mounting screws, then remove the master switch (A) from the switch panel (B).
    Fig 2: Identifying Master Switch And Switch Panel
    G05526693Courtesy of AMERICAN HONDA MOTOR CO., INC.
  4. Install in the reverse order of removal.
  5. Reset the power window control unit (see RESETTING THE POWER WINDOW CONTROL UNIT ).