LEMON Manuals: Even more car manuals for everyone
Home >> Honda >> 2007 >> Fit Base, Automatic >> Repair and Diagnosis >> External Pages >> Different car >> Section 61 (Tire Pressure Monitoring System) >> TPMS Control Unit Replacement

TPMS Control Unit Replacement

WARNING: This page is about a different car, the 2008 Honda Fit. However, it is still accessible from the selected car via links, so may be relevant.
NOTE: Make sure the TPMS control unit mounting bracket is not bent or twisted as this may affect its communication with the tire pressure sensors.
  1. Make sure the ignition switch is OFF.
  2. Remove the driver's dashboard undercover (see DRIVER'S DASHBOARD UNDERCOVER REMOVAL/INSTALLATION ).
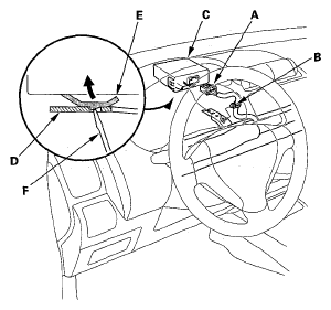
  3. Disconnect the TPMS control unit connector (A) and clip (B).
    Fig 1: Identifying TPMS Control Unit
    G05455966Courtesy of AMERICAN HONDA MOTOR CO., INC.
  4. Remove the TPMS control unit (C) from the bracket (D).
    NOTE: While separating the TPMS control unit from the bracket, release the hook (E) on the TPMS control unit using a flat-tipped screwdriver (F), and push up to release it from the bracket.
  5. Install the TPMS control unit in the reverse order of removal.
    NOTE: Make sure the TPMS control unit is properly installed. You will hear a click when the TPMS control unit is securely mounted on the bracket.
  6. Connect the HDS, and memorize the pressure sensor IDs using the TPMS sensor initializer tool (see MEMORIZING THE TIRE PRESSURE SENSOR ID ).