LEMON Manuals: Even more car manuals for everyone
Home >> Honda >> 2007 >> Element SC, Standard >> Repair and Diagnosis (Single Page) >> Body & Frame >> Windows >> Power Windows >> Power Window Master Switch Test/Replacement

Power Window Master Switch Test/Replacement

  1. Remove the switch panel (see FRONT DOOR PANEL REMOVAL/INSTALLATION ).
  2. Disconnect the 20P connector from the power window master switch.
    Fig 1: Identifying Power Window Master Switch 20P Connector Terminals
    G05451500Courtesy of AMERICAN HONDA MOTOR CO., INC.
  3. Check for continuity between the terminals in each switch position according to the tables.

    Driver's Switch: 

    The driver's switch is combined with the control unit so you cannot isolate the switch to test it. Instead, do POWER WINDOW MASTER SWITCH INPUT TEST  . If the tests are normal, the driver's switch must be faulty.

    NOTE: RESETTING THE POWER WINDOW CONTROL UNIT  if you disconnect the switch or replace it.

    Front Passenger's Switch 

    Fig 2: Identifying Front Passenger's Switch Terminals Continuity Table
    G05451501Courtesy of AMERICAN HONDA MOTOR CO., INC.
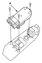
  4. If the continuity is not as specified, remove the three screws and replace the switch (A).
    Fig 3: Identifying Power Window Master Switch
    G05451502Courtesy of AMERICAN HONDA MOTOR CO., INC.