LEMON Manuals: Even more car manuals for everyone
Home >> Honda >> 2007 >> Element SC, Standard >> Repair and Diagnosis (Single Page) >> Accessories & Equipment >> Infotainment >> Navigation System >> System Description >> Overview >> System Diagram

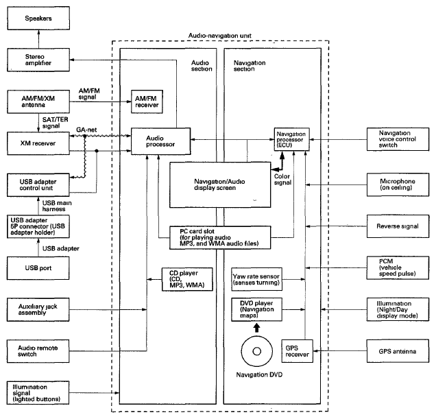
System Diagram

Fig 1: Navigation System Diagram
G08049601Courtesy of AMERICAN HONDA MOTOR CO., INC.