LEMON Manuals: Even more car manuals for everyone
Home >> Honda >> 2005 >> Pilot EX >> Repair and Diagnosis >> Body & Frame >> Windows >> Power Windows >> Passenger's Window Switch Test/Replacement

Passenger's Window Switch Test/Replacement

  1. Carefully pry off the door switch trim (see FRONT DOOR PANEL REMOVAL/INSTALLATION ).
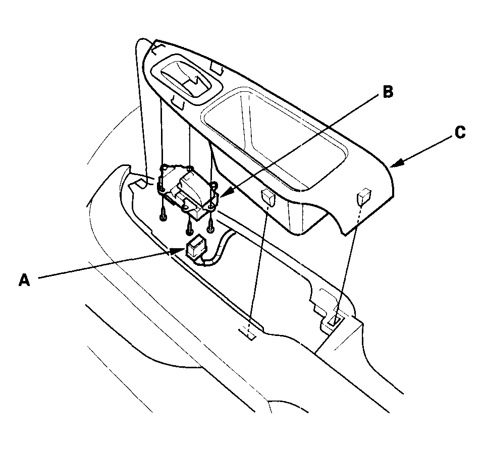
  2. Disconnect the 6P connector (A) from the power window switch (B), then remove the three mounting screws and the power window switch from the switch trim (C).

    Front Passenger's: 

    Fig 1: Disconnecting 6P Connector From Power Window Switch Front Passenger Side
    G04548430Courtesy of AMERICAN HONDA MOTOR CO., INC.

    Rear: 

    Fig 2: Disconnecting 6P Connector From Power Window Switch Rear Side
    G04548431Courtesy of AMERICAN HONDA MOTOR CO., INC.
  3. Swap the window switch with another known-good switch and test. If the original window switch is faulty, replace it.