LEMON Manuals: Even more car manuals for everyone
Home >> Honda >> 2005 >> Pilot EX >> Repair and Diagnosis (Single Page) >> Brakes >> Traction Control >> Abs (Anti-Lock Brake System) >> System Description >> ABS Control Unit >> Main Control

Main Control

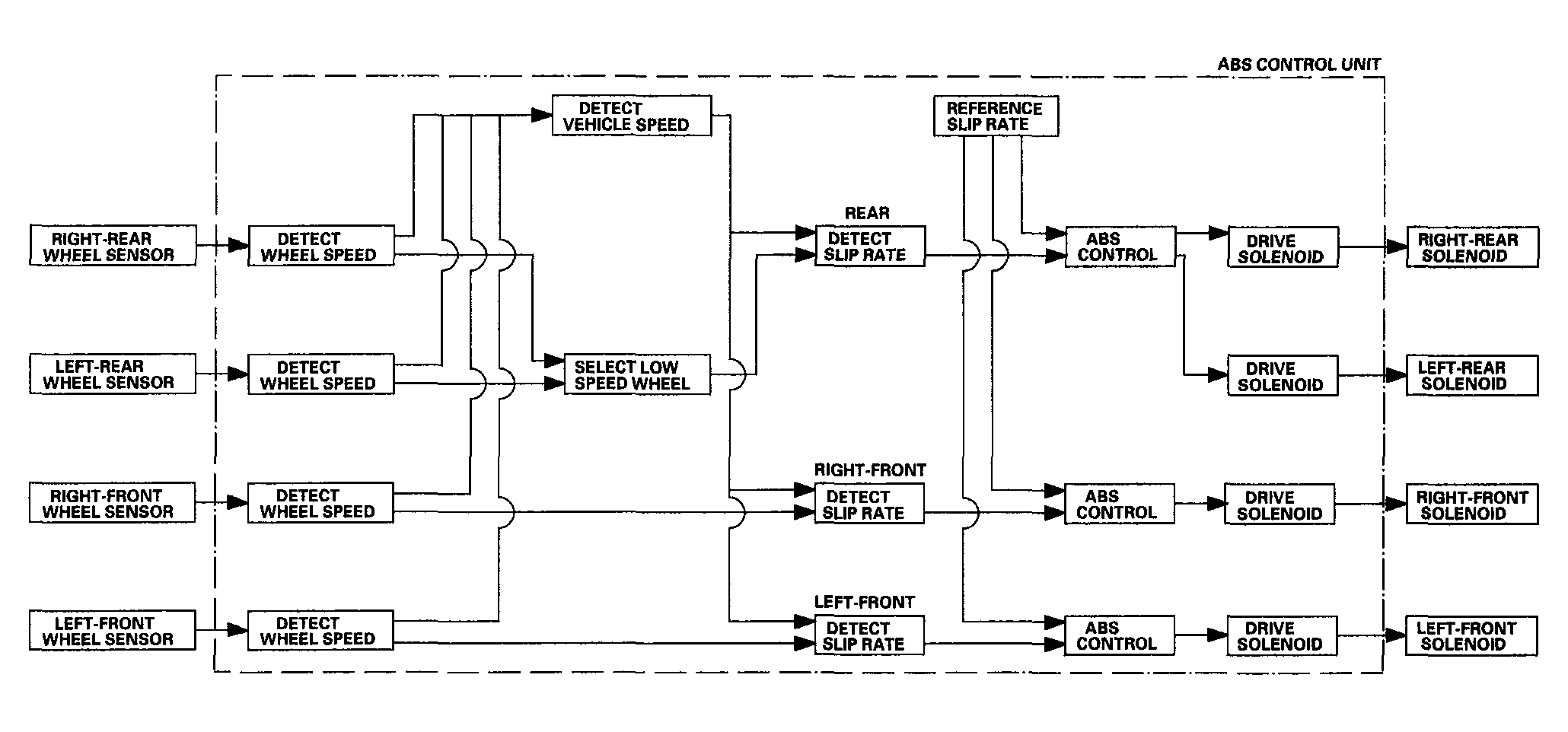
The ABS control unit detects the wheel speed based on the wheel sensor signal it received, then it calculates the vehicle speed based on the detected wheel speed. The control unit detects the vehicle speed during deceleration based on the rate of deceleration.

The ABS control unit calculates the slip rate of each wheel, and transmits the control signal to the modulator unit solenoid valve when the slip rate is high.

The pressure reduction control has three modes: pressure reducing, pressure retaining, and pressure intensifying.

Fig 1: Flow Diagram - ABS Control Unit
G04547428Courtesy of AMERICAN HONDA MOTOR CO., INC.