LEMON Manuals: Even more car manuals for everyone
Home >> Honda >> 2005 >> Pilot EX >> Repair and Diagnosis (Single Page) >> Accessories & Equipment >> Infotainment >> Navigation System >> System Description >> Navigation Function >> Function Diagram

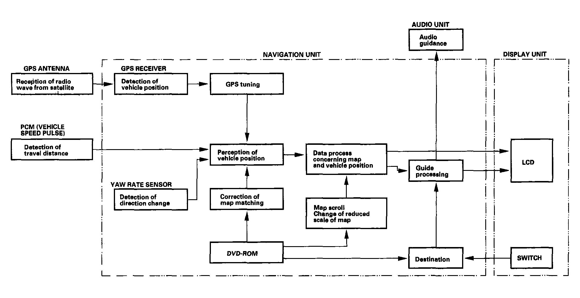
Function Diagram

Fig 1: Identifying Navigation Function Diagram
G04548537Courtesy of AMERICAN HONDA MOTOR CO., INC.