LEMON Manuals: Even more car manuals for everyone
Home >> Honda >> 2001 >> Accord Value Package >> Repair and Diagnosis >> External Pages >> Different variant/trim >> Section 2 (Anti-Lock/Traction Control System) >> Component Tests >> Relay Test >> Fail-Safe Relay & TCS Relay

Fail-Safe Relay & TCS Relay

WARNING: This page is about a different variant/trim than selected.

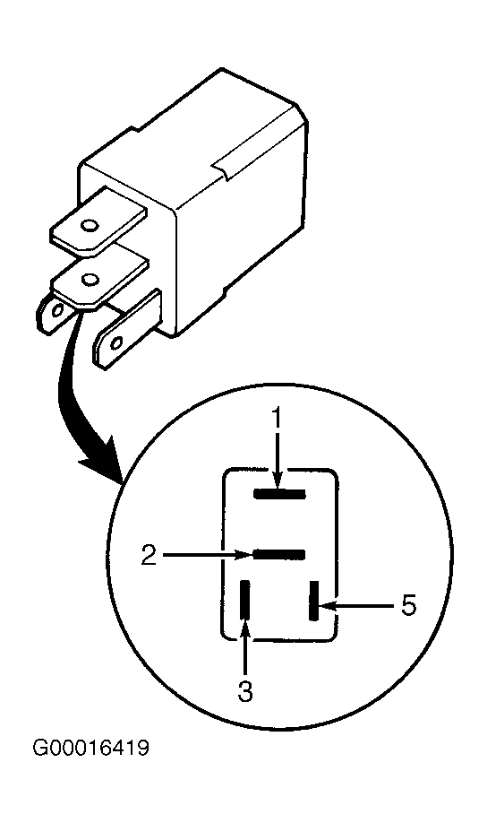
Check continuity between fail-safe relay terminals No. 3 and 5. See Fig 1 . Continuity should exist. Check continuity between fail-safe relay terminals No. 1 and 2. Continuity should not exist. Apply battery voltage across fail-safe relay terminals No. 3 and 5 and check continuity between fail-safe relay terminals No. 1 and 2. Continuity should exist. If continuity is not as indicated, replace fail-safe relay.

Fig 1: Identifying Fail-Safe Relay Terminals
G00016419Courtesy of AMERICAN HONDA MOTOR CO., INC.