LEMON Manuals: Even more car manuals for everyone
Home >> Honda >> 2000 >> Odyssey EX >> Repair and Diagnosis >> Engine Performance >> Engine Control Systems >> Engine Mount Control System >> Engine Mount Control System >> Circuit Diagram

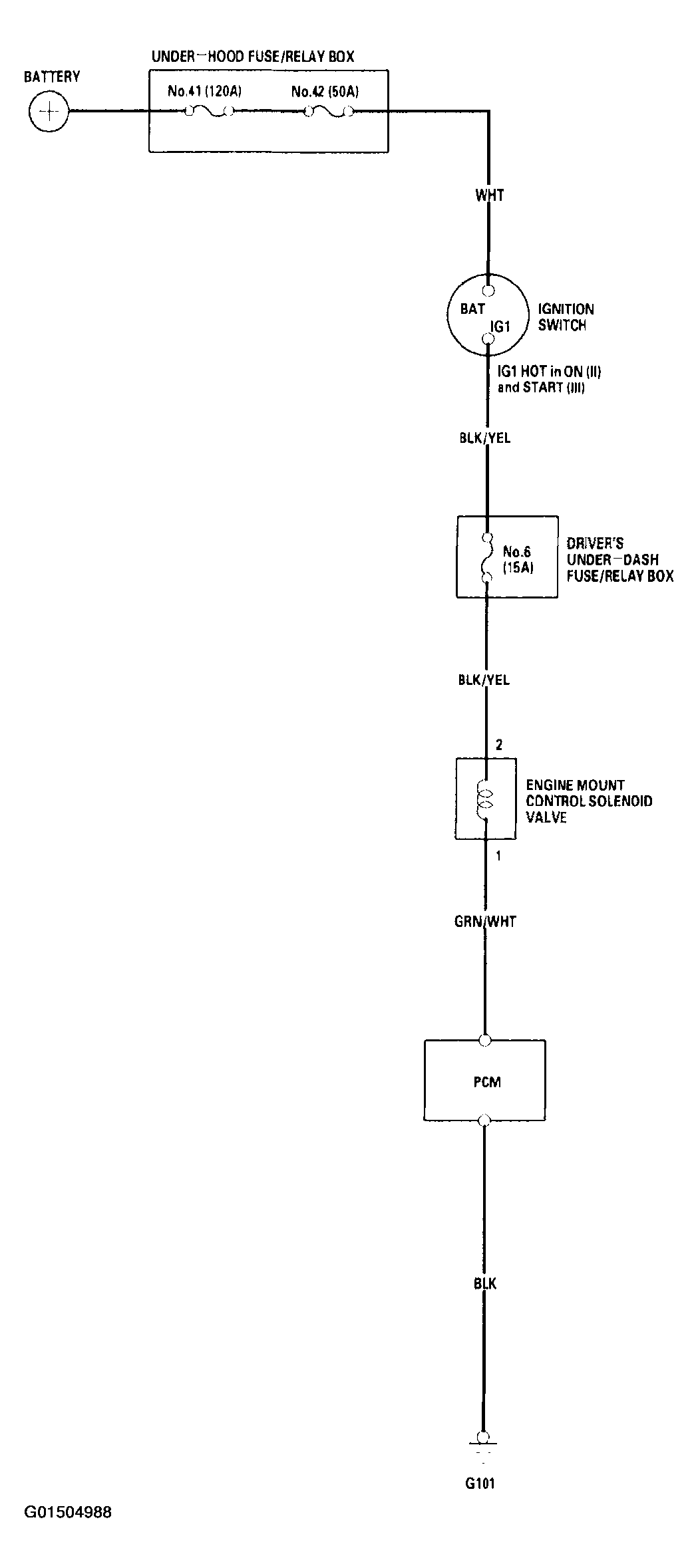
Circuit Diagram

Fig 1: Engine Mount Control System Wiring Diagram
G01504988Courtesy of AMERICAN HONDA MOTOR CO., INC.