LEMON Manuals: Even more car manuals for everyone
Home >> Honda >> 1994 >> Prelude VTEC >> Repair and Diagnosis >> Engine Performance >> System >> Engine Controls - Tests W/Codes >> Diagnostic Trouble Code Charts >> Code/No Code - No Start Trouble Shooting

Code/No Code - No Start Trouble Shooting

Fig 1: Flow Chart (1 Of 5) Code/No Code - No Start Trouble Shooting
G93F78993
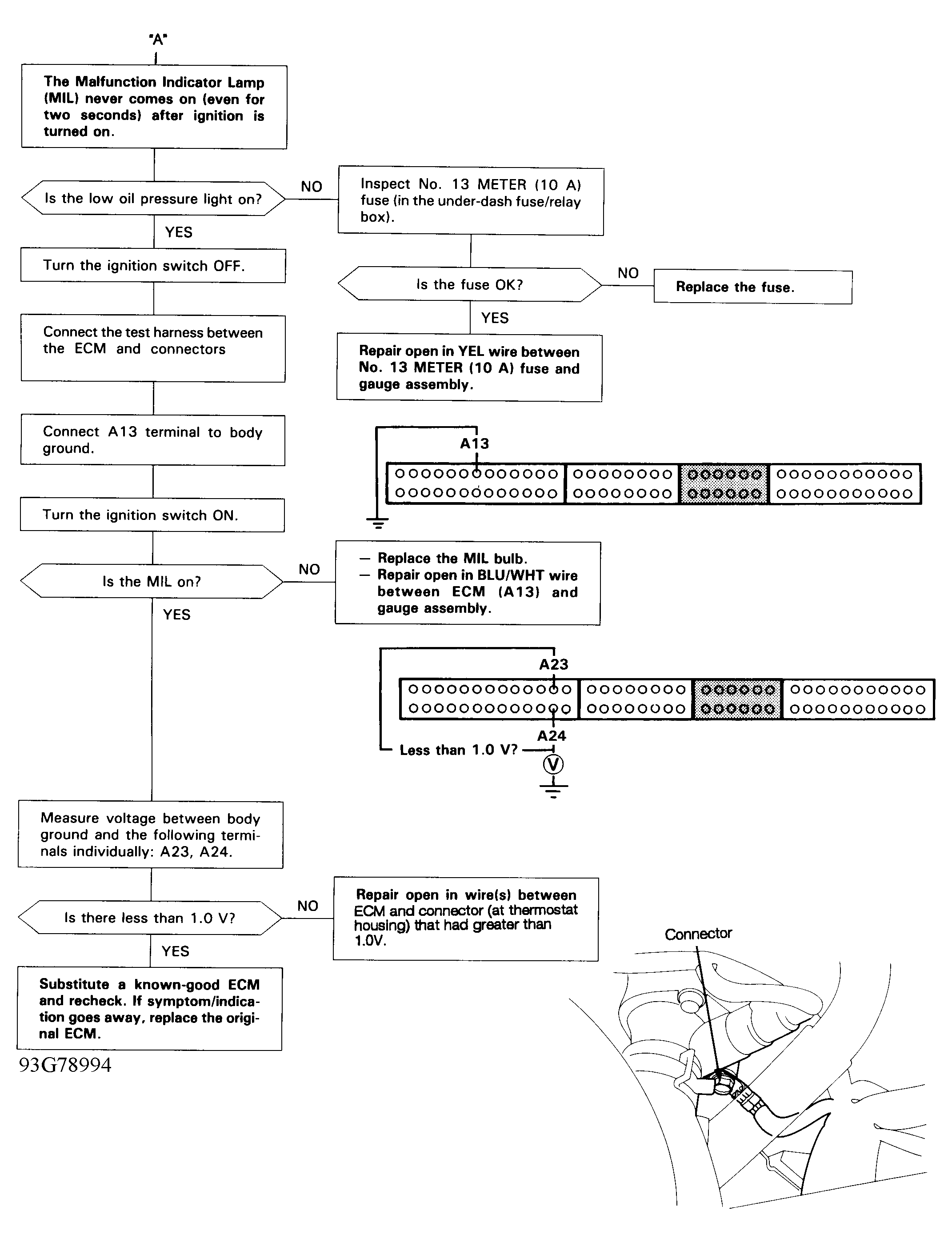
Fig 2: Flow Chart (2 Of 5) Code/No Code - No Start Trouble Shooting
G93G78994
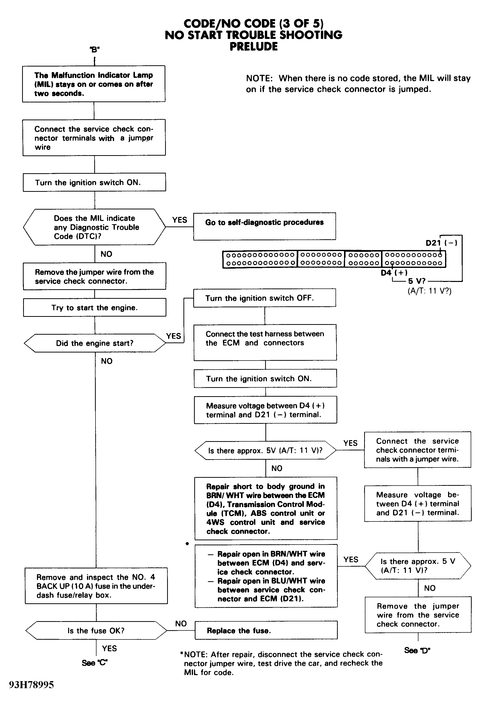
Fig 3: Flow Chart (3 Of 5) Code/No Code - No Start Trouble Shooting
G93H78995
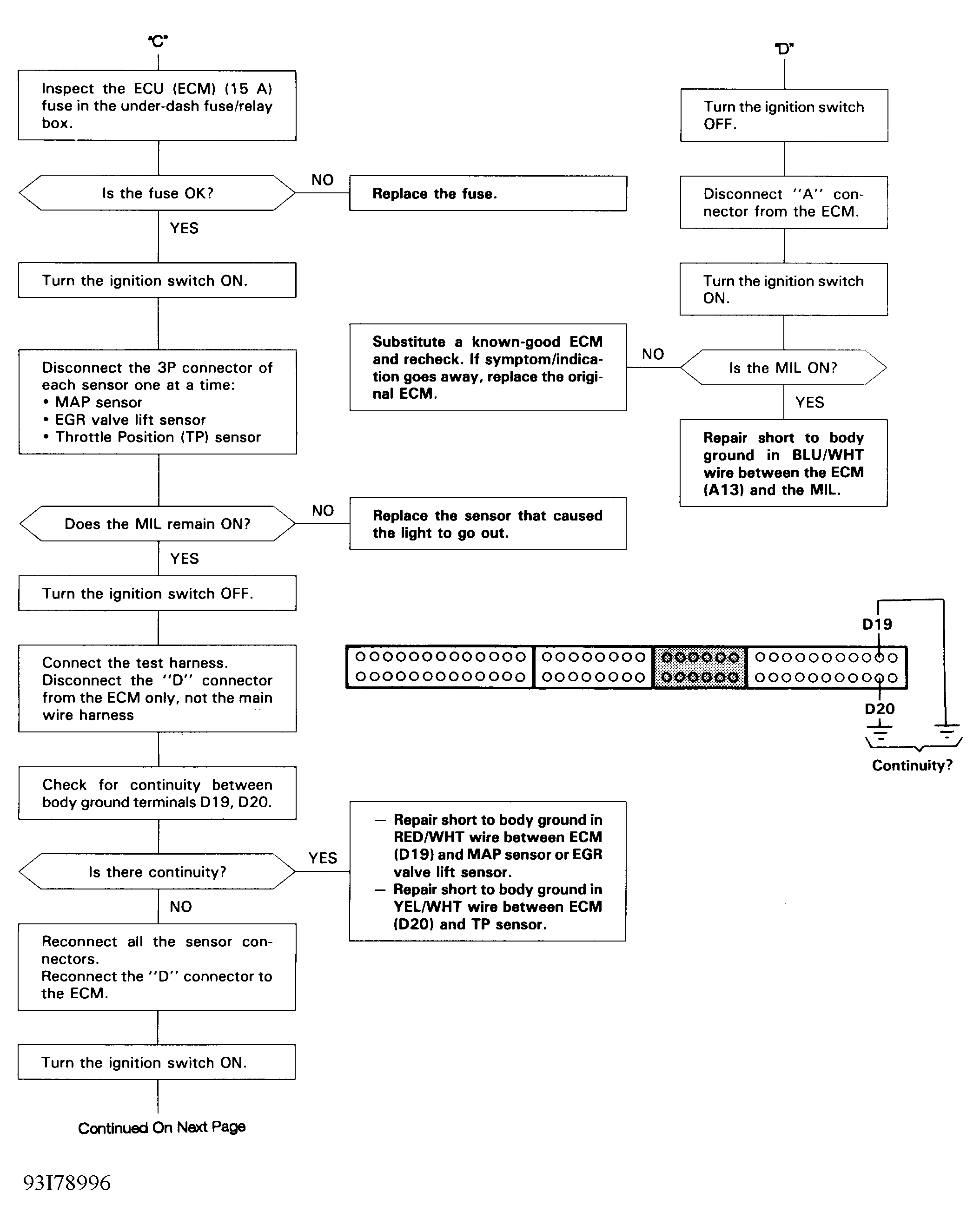
Fig 4: Flow Chart (4 Of 5) Code/No Code - No Start Trouble Shooting
G93I78996
Fig 5: Flow Chart (5 Of 5) Code/No Code - No Start Trouble Shooting
G93J78997