LEMON Manuals: Even more car manuals for everyone
Home >> Geo >> 1994 >> Prizm Base, Standard >> Repair and Diagnosis >> Engine Performance >> System >> Engine Controls - Basic Testing >> DIAGNOSTIC CHARTS - EXCEPT LSi >> Chart A1-5, Fuel Injector Circuit Check (Engine No-Start) >> Diagnostic Aids

Diagnostic Aids

Fuel spray may exist at fuel injectors, but it may not be enough to start engine. If fuel injectors and their circuits are okay, and fuel spray is detected, fuel injector nozzle may be partly blocked or restricted. See CHART A1-7A  for circuit opening relay check.

An intermittent may be caused by a poor connection, rubbed-through wire insulation, or a wire broken inside insulation. Inspect harness connectors for backed-out terminals, improper mating, broken locks, improperly formed or damaged terminals, and poor terminal-to-wire connections before replacing components.

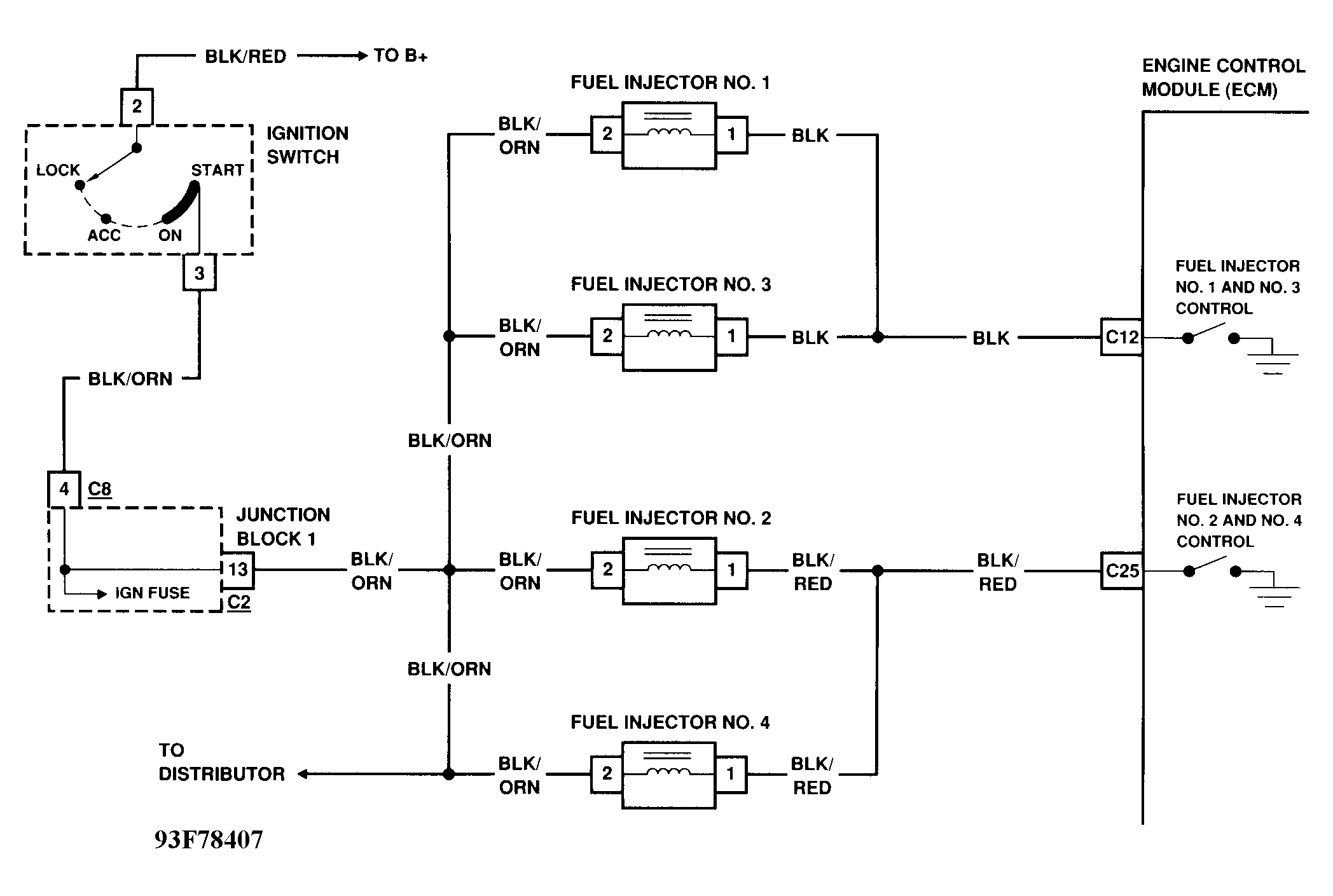
Fig 1: Chart A1-5 Schematic - Except LSi Fuel Injector Circuit Check - Engine No-Start
G93F78407
Fig 2: Chart A1-5 Flow Chart - Except LSi Fuel Injector Circuit Check - Engine No-Start
G93G78408