LEMON Manuals: Even more car manuals for everyone
Home >> Geo >> 1993 >> Tracker Base, RWD >> Repair and Diagnosis >> Engine Performance >> System >> Engine Controls - Basic Testing >> Fuel System >> Fuel Pressure

Fuel Pressure

NOTE: For fuel pump specifications, see FUEL PUMP PERFORMANCE  table.

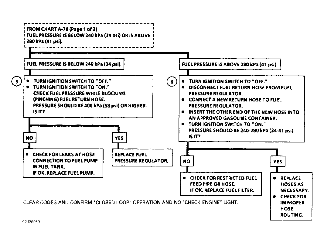
Release fuel pressure. See FUEL PRESSURE RELEASE  . Disconnect negative battery cable. Attach Fuel Pressure Gauge(J-34730-1) and Adapter (J-37746) at fuel filter inlet bolt. See Fig 1 . Fuel filter is located on right side of frame, above rear differential. Connect negative battery cable. Check fuel pressure. See Figure , Figure and Figure . Release fuel pressure. Remove fuel pressure gauge. Install fuel line at fuel filter, and tighten it to 26 ft. lbs. (35 N.m).

Fig 1: Installing Fuel Pressure Gauge
G91D16355Courtesy of GENERAL MOTORS CORP.
FUEL PUMP PERFORMANCE

Application Pressure: psi (kg/cm2 )
Tracker (1) 34-41 (2.4-2.9)
(1) With ignition on and engine off.