LEMON Manuals: Even more car manuals for everyone
Home >> Geo >> 1993 >> Tracker Base, 4WD, Standard >> Repair and Diagnosis >> Engine Performance >> System >> Engine Controls - Basic Testing >> Diagnostic Charts >> Chart A-5, No-Start Condition (Fuel Injector Circuit Check) >> Diagnostic Aids

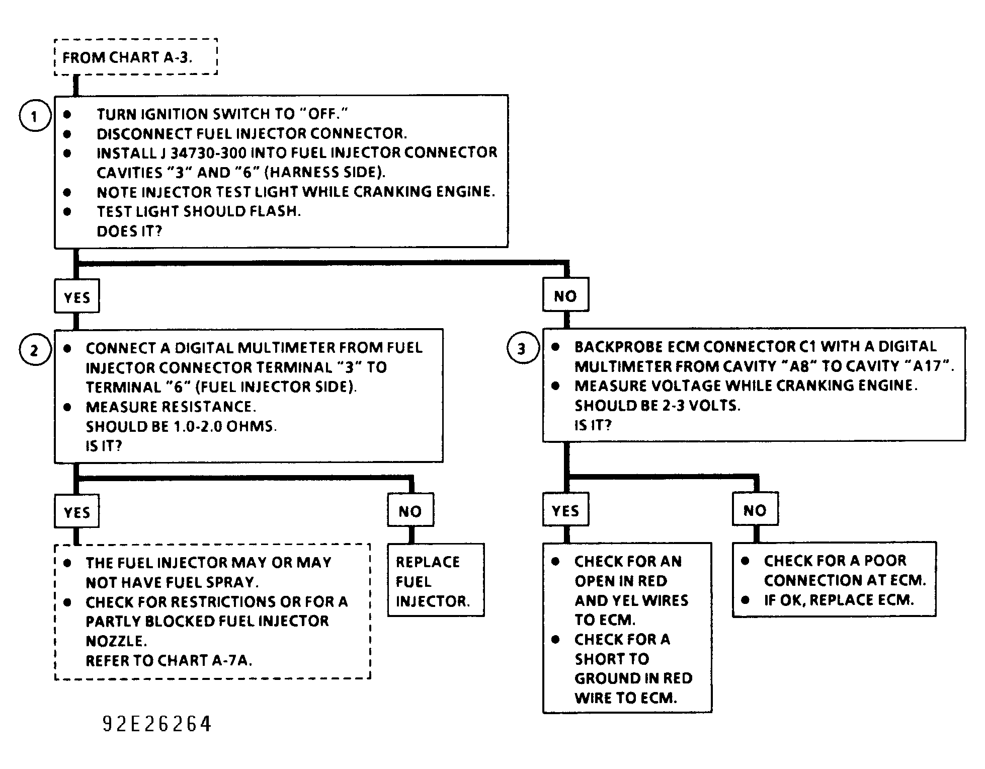
Diagnostic Aids

Fuel spray may be present at injector, but may not be enough to start engine. If both fuel injector and related circuits are okay, check for a partially blocked injector nozzle.

Fig 1: Chart A-5 Schematic - No-Start Condition - Fuel Injector Circuit Check
G92D26263Courtesy of GENERAL MOTORS CORP.
Fig 2: Chart A-5 Flow Chart - No-Start Condition - Fuel Injector Circuit Check
G92E26264Courtesy of GENERAL MOTORS CORP.