LEMON Manuals
: Even more car manuals for everyone
Home
>>
Geo
>>
1993
>>
Storm Base, Standard
>>
Repair and Diagnosis
>>
Engine Performance
>>
System
>>
Engine Controls - System/Component Tests
>>
Ignition System
>>
Notes
Ignition System: Notes
NOTE:
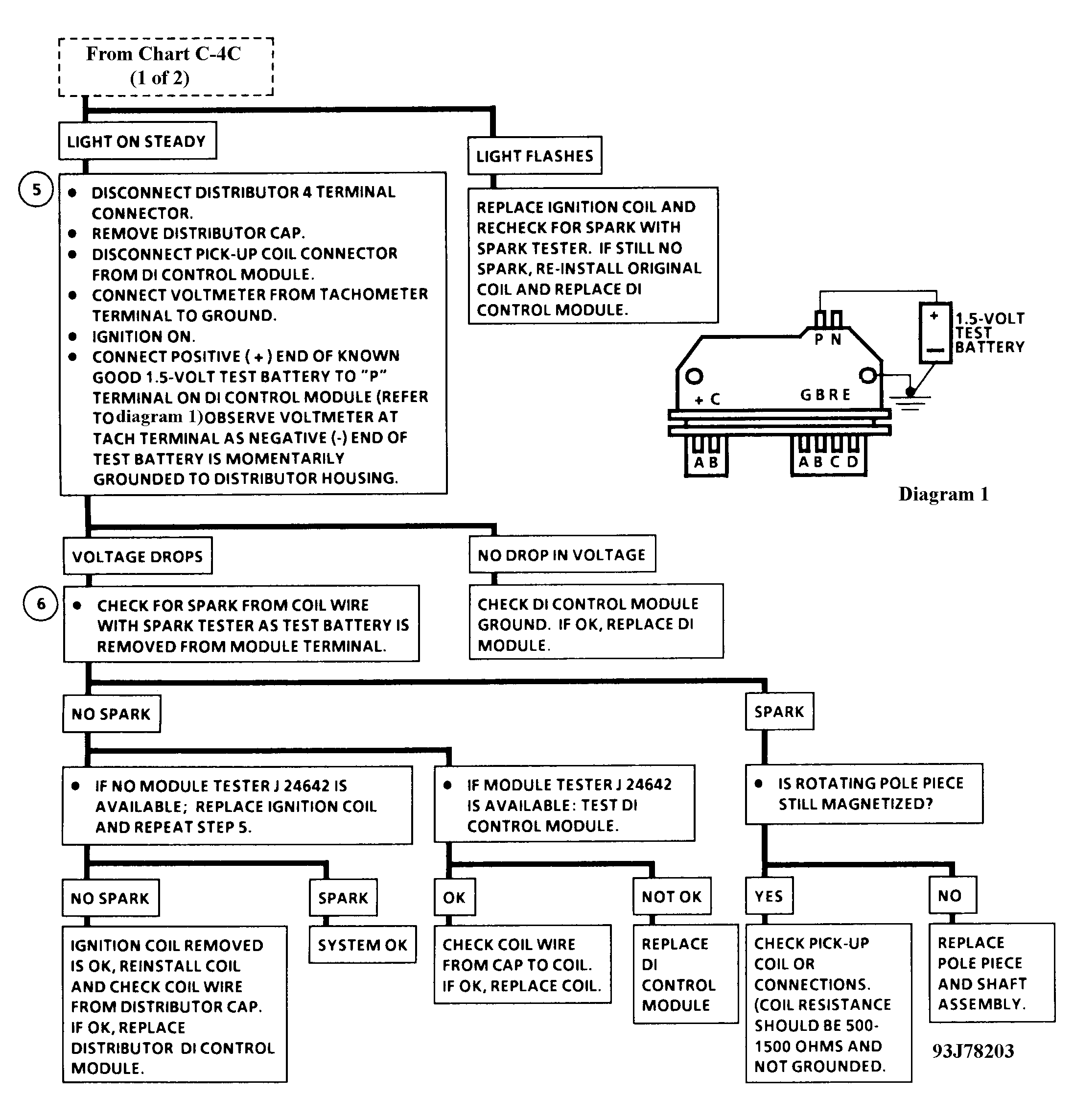
For basic ignition checks, see BASIC TESTING article in this section. For ignition system testing, see
Figure
,
Figure
, and
Figure
.