LEMON Manuals: Even more car manuals for everyone
Home >> Geo >> 1992 >> Prizm Base, Automatic >> Repair and Diagnosis >> Engine Performance >> System >> Engine Controls - Tests W/Codes >> Diagnostic Code Charts (Except GSI) >> Code 14, Ignition Signal Circuit, No Signal >> Diagnostic Aids

Diagnostic Aids

Intermittent condition may be caused by rubbed-through insulation or a wire broken inside insulation. Check ECM harness connectors for backed-out or damaged terminals. If code is intermittent, refer to TESTS W/O CODES article in this section.

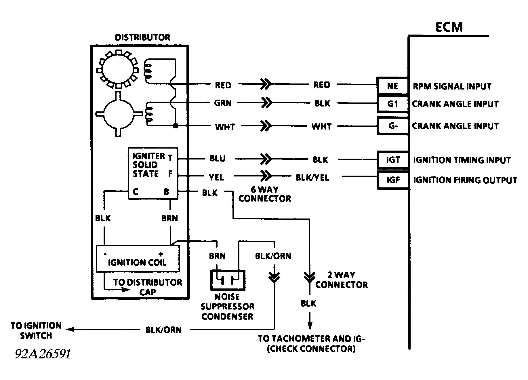
Fig 1: Code 14 Schematic (Except GSi), Ignition Signal Circuit No Signal
G92A26591
Fig 2: Code 14 Flow Chart (Except GSi), Ignition Signal Circuit No Signal
G92B26592