LEMON Manuals: Even more car manuals for everyone
Home >> Geo >> 1990 >> Tracker Base, Standard >> Repair and Diagnosis >> Engine Performance >> System >> Engine Controls - Tests W/Codes >> Diagnostic Code Charts >> Code 44, Idle Switch Circuit Open Or MISADJUSTED

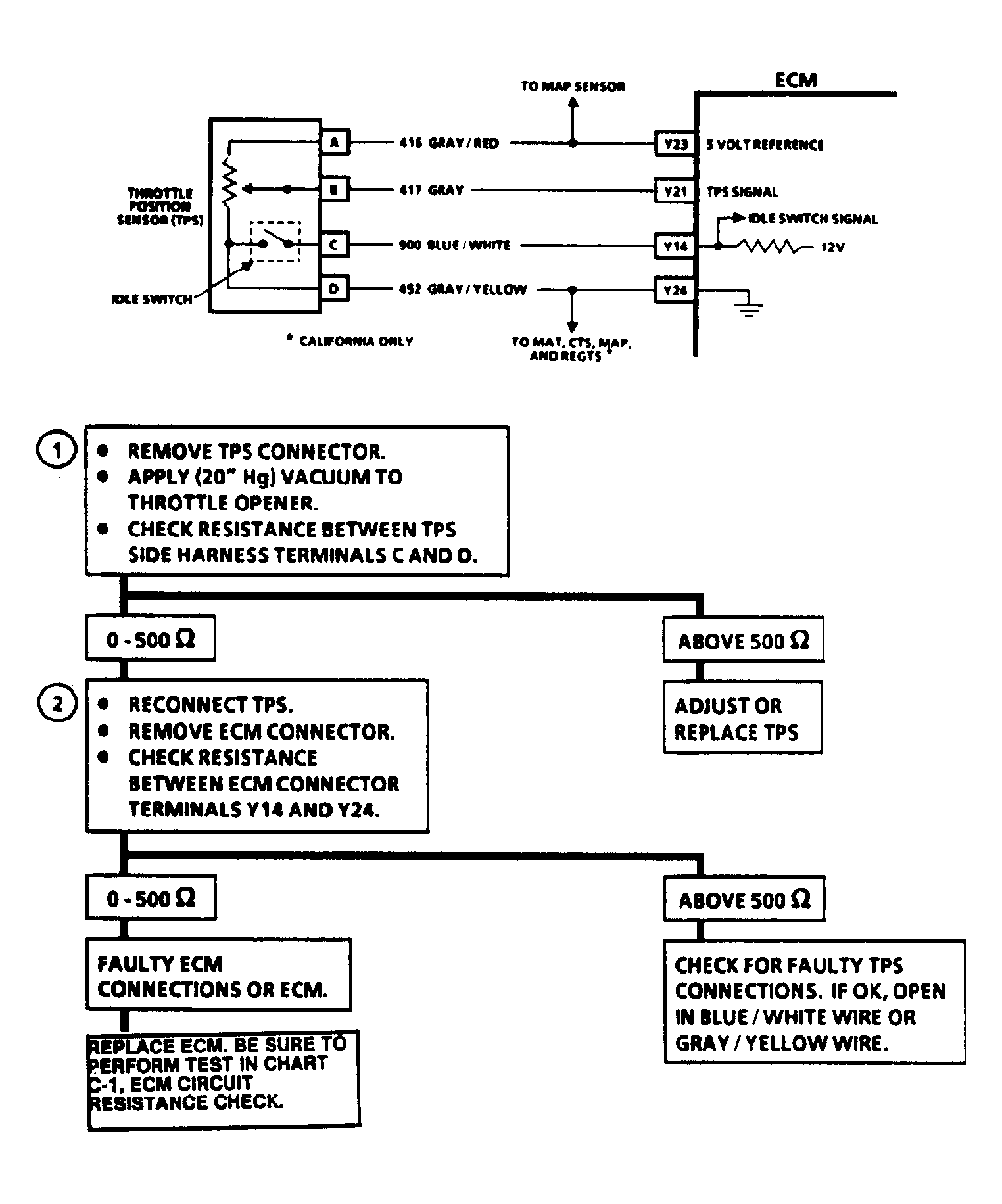
Code 44, Idle Switch Circuit Open Or MISADJUSTED

This code sets if ECM sees an open switch or circuit at idle conditions. When properly adjusted, the TPS idle switch pulls ECM circuit low (to ground) when throttle is closed. If idle switch resistance is measured separately, it shows little or no resistance when closed. When throttle is opened, the circuit goes high at the ECM. If idle switch is measured separately, it shows open (infinite resistance).

NOTE: Test numbers refer to test numbers on diagnostic chart.
  1. Applying vacuum to throttle opener ensures throttle is in idle position. Resistance should be 500 ohms or less at idle and infinite at wide open throttle. If TPS is misadjusted, this could keep idle switch open at closed throttle.
  2. TPS checked okay in step 1), this checks for an open circuit or faulty ECM.
Fig 1: Code 44 Circuit Diagram & Flow Chart
G121701