LEMON Manuals: Even more car manuals for everyone
Home >> Geo >> 1990 >> Metro Base, 4D Hatchback, Standard >> Repair and Diagnosis >> Engine Performance >> System >> Engine Controls - Tests W/Codes >> Code 23, Manifold Air Temperature (Mat) Sensor Circuit Low Temperature Indicated >> Engine Controls - Tests W/Codes >> Diagnostic Aids

Diagnostic Aids

An intermittent may be caused by rubbed through insulation or a wire broken inside the insulation. Check ECM harness connectors for backed out or damaged terminals. If code is intermittent, refer to the TESTS W/O CODES article.

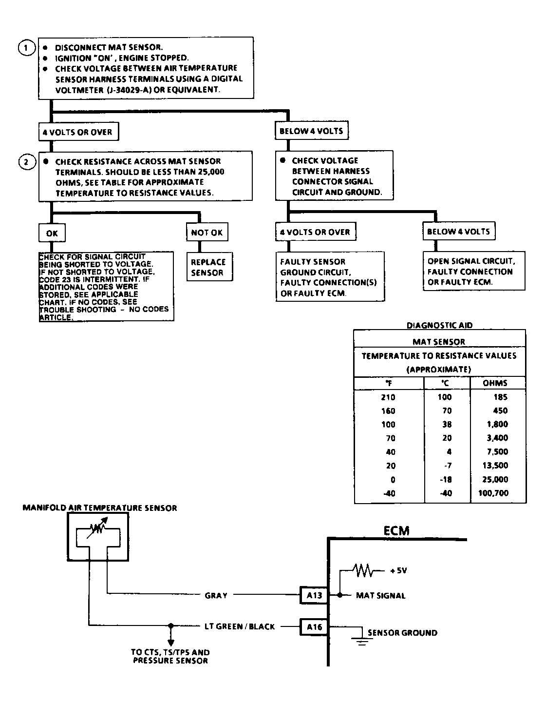
Fig 1: Code 23 Circuit Diagram & Flow Chart
G121620