LEMON Manuals: Even more car manuals for everyone
Home >> Geo >> 1989 >> Tracker Base, Standard >> Repair and Diagnosis >> Engine Performance >> System >> System/Component Tests >> Fuel System >> Fuel Control >> System Performance Test 6 (Fuel-Cut System Operational Check Spectrum)

System Performance Test 6 (Fuel-Cut System Operational Check Spectrum)

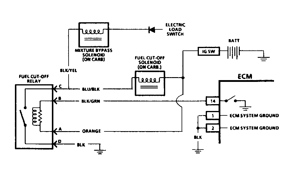
  1. Warm engine until choke is fully open and A/C off. Connect tachometer. Connect voltmeter between ground and terminal "B" of fuel-cut relay See Fig 1 .
  2. Open throttle slightly and keep engine at 3500 RPM. Note voltage. If voltage is less than 6 volts, go to step 3). If voltage is greater than 6 volts, check for open between terminal "B" and ECM terminal No. 14. If circuit is not open, adjust idle switch. If adjustment is okay, ECM or connection is bad.
  3. Return throttle to idle while checking voltage. If voltage changes, go to step 4). If voltage does not change, check adjustment of idle switch and A/C fast idle diaphragm.
  4. If voltage rises greater than 6 volts, then falls again to low level when engine drops below 2000-2500 RPM, fuel-cut circuit and idle switch adjustment are okay. If A/C equipped, repeat test with A/C on.
Fig 1: Fuel Cut Relay Wiring Diagram
G121716Courtesy of GENERAL MOTORS CORP.